忍者ブログ

Imager マニア

デジカメ / デジタルビデオカメラ / スマホ用の撮像素子(イメージセンサ/imager/CMOSセンサ)について、マニアな情報や私見を徒然なるままに述べるBlogです(^^;)

[PR]

×

[PR]上記の広告は3ヶ月以上新規記事投稿のないブログに表示されています。新しい記事を書く事で広告が消えます。

ソニーの湾曲センサの製造方法特許 ~もう一つの特許と4年前のトップの寄稿

そろそろマンネリになりそうですが、前回エントリに引き続き、せっかく(ソニーの湾曲センサに関して)もう1件特許を読んでいましたので、それをご紹介させてもらって一端この件終わりにしたいと思います。


 と、その前に・・・
(湾曲センサの特許の存在は今回初めて知ったのですが、)ソニーがセンサを曲げてくるのでは?というのは、実は私、数年前から”それなりの確率であるな”と思っていました・・・

 と、書くと「またまた知ったかぶりして自慢しちゃって」と煙たがられると思うのですが(^^;)、
別に予知能力でとか、そういった話では無く、
日経系の「日経エレクトロニクス」(NE)という定期刊行雑誌の2010年7/12号のp.75から始まる、ソニーの事実上の撮像素子部門のトップと思われる方の以下寄稿を読んでいたからです。

”フィルムをしのいだ撮像素子 次は人間の目を超える”
鈴木 智行 ソニー 業務執行役員 SVP 半導体事業本部 副本部長

※役職は当時のもので、今はきっともう少し偉くなられていそうです。
余談ですが、この鈴木さんという方、つい最近も同誌にインタビューされていた記事が載っていました。
往時の青紫色半導体レーザーの中村修二さんの特許訴訟ネタほどではありませんが、NE編集部が若干記事ネタに詰まったらこの方のインタビューをほうりこんで穴埋めしている気配が無きにしもあらずのような・・・(^^;)

拍手[0回]

上記寄稿は6ページに渡り、後から読み直してもおもしろくて興味深い内容が多いのですが、今回は本エントリで言いたい趣旨に関する点のみ以下に意訳抜粋。
※オレンジ色は私の補足追記情報

・CCDとCMOSセンサでは技術目標が異なる
 CCDの目標は”銀塩フィルムを超える”こと
 CMOSセンサの目標は”人の目を超える”こと
 
・CCDの技術目標は達成したので、我々はCMOSセンサの技術目標の達成に舵を切った

・人間の目は、速く動く物体や照度差が大きい物体を知覚しにくい
 CMOSセンサは遠くない将来、上記限界を乗り越える可能性が高い
 そしてそのための道筋は我々にはほぼ見えている

・上記限界を超えるためにCMOSセンサが今後備えていくであろう特徴を以下6つ紹介

 1) 超高速出力
  低消費電力で高速に動作するAD変換器を搭載できれば、4Kで240fps動画を将来は撮影出来るだろう
  ※'14/05/03現在、ソニーCINEALTA F65で4K2Kで120fps。上記発言目標に対して半分。
   恐らくこの目標を達成したカメラが将来出てくるのでしょう。


 2) グローバルシャッター
  これを実現すれば動画から高解像度で歪みのない静止画を抽出できる
  現時点ではグローバルシャッターと狭い画素ピッチの両立が難しいものの、解決策は見えてきている
  ※’14/05/03現在、ソニーCINEALTA F55、及び産業用途の撮像素子(IMX174など)において既に実現
   静止画用の民生カメラに搭載される日はくるか?


 3) 広ダイナミックレンジ
  暗闇で被写体を撮影出来る高いS/Nと太陽光や強いライトが当たって輝いている物体も撮れる
  上記の様な特性を持ったCMOSセンサが車載カメラなどで求められている
  要求されるダイナミックレンジは(人の目を超える)120dBほど
  実現するには、露光時間を変えながら複数回露光することが有効
  ※’14/05/03現在、(これは何をもって達成と言うか難しい特性ですが、車載用途ではないですが、)例えばソニーXperiaZ搭載撮像素子において実現
   ソニーって車載用途の撮像素子に参入しているのでしょうか?私は聞いたことありませんが・・・


 4) 背景ボケ
  現状の背景ボケは撮像素子のチップ面積が大きいほど顕著になるという純粋に光学的な現象だが、これを電子的に制御する研究が進んでいる
  ※(個人的にはあまり興味の湧かない研究内容ですが、)’14/05/03現在、ソニーのコンパクトデジカメやNEXなどのミラーレスカメラにおいて実装されている(”背景ぼかし”モード←例えば左リンクの一番下の方に記載)


 5) 3次元(3D)化
  現在は撮像素子を二つ使って3Dの動画や静止画を撮影出来るカメラが普及しつつあるが(←4年後の現在から見ると、結果としてあまり”普及した”とは言い難いですね^^;)、将来は一つの撮像素子で可能になるだろう
  これにより、3D対応カメラの小型化・低価格化が期待できる
  ※’14/05/03現在、一つの撮像素子搭載のソニーのカメラで”連写後の画像合成による”3D写真撮影機能を搭載するカメラは存在。
   本寄稿における上記意図は、恐らく画処理ではなく、例えばパナソニックが開発したこの様な撮像素子のことを指しているのでは?と思いますが・・・
   この件は、ソニーは研究を続けているか!?←いま一つ需要が小さそうな分野になってしまっている気がするので(^^;)


 6) 湾曲化
  湾曲していると、撮像素子の外周付近の画素に光が入射しやすくなるので、光を制御していたレンズを簡素にできる
  CMOSセンサを割れないように湾曲させるには、Si基板の薄膜化が欠かせない
  この技術は、裏面照射品の開発・量産を通じて確立済みだ

以上までが寄稿内容。


 現在までのところ、1)~5)の5つの内、
2)と4)は実現済み
1)と3)も目標達成までは出来ていないかもしれないけれども、明らかに目標達成に向けて順調にまい進中の模様
 (※3)の広ダイナミックレンジは、120dBまで出せているのか怪しいのと、車載用途を取れていないのではないかと思われるため、実現済みにカウントせず)
5)が未達成

 上記寄稿を読んでから4年、着々と目標達成していく様を見ていて、
かつ、最後の6)の湾曲化の項での”裏面照射品の開発・量産を通じて薄膜化技術は確立済み”との発言を見たことにより、
 ”あ~、いつかは湾曲化も本気で実現させる気なんだな~”
と思うようになっていました。



 さて、やっと以下から今回採りあげたい特許の話です(^^;)
今回の特許は、前回エントリで記したソニーの糸長さんの4つの特許の内の

1) 特開2012-114189

になります。
 4つの特許から、前回エントリで
 2)特開2012-182194 を採り挙げた理由を一言で言うと、
”湾曲センサをズームレンズにも対応させるために、湾曲率を随時可変にする気があることに驚いたから”
です。(←本当に実現できるかどうかはさておき)

それに対して今回の特許を採り挙げた理由を一言で言うと、
”前回エントリで紹介した特許よりも、圧倒的に量産性に優れる製法だと感じたから
です。

 一般的には前回エントリの特許の方が華美で有意義な特許のように思われるように思うのですが、個人的には地味ながらも、今からご紹介する様な特許の発明?が無ければ実際には製品には結実しない(←少なくとも大量生産の民生品には)と思うので、興味を惹かれました。
(※実際に湾曲センサが製品化された時に使われる製法が、以下特許の製法であるかは不明です。私が勝手に”量産化するならこちらの方法では?”と感じただけです。←ご了承ください)

 前回特許は、ズームレンズ対応の内容が半分、そして紹介しませんでしたが残り半分は実は湾曲センサの製法も書かれた内容の特許でした。

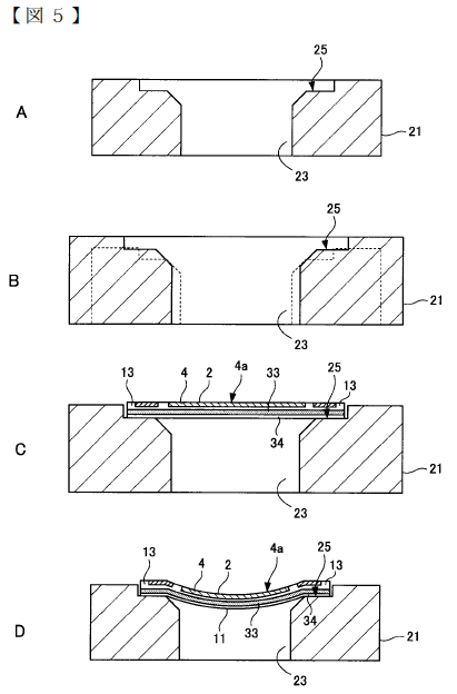
 上図5が、その前回紹介特許で示されている代表的な製法です。
上図はセンサと台座21の断面図ですが、簡単に書くと、

Aの様な形状に加工済みの台座に熱を掛けて膨張させておき、その上にセンサを置いて何等かの手法で台座とセンサ周辺部を接着し、その後台座を冷却収縮させ、センサを”ぐにゅっと”曲げる

という製法です。
ここで今回の特許との対比のために覚えておいていただきたいポイントは、
”ぐにゅっ”と押し曲げる訳ですから、センサの外周部に必ず台座21の”淵”が存在しなければならないはずです。
つまり、この特許が想定している製法は、センサ1チップごとに淵が必要ですので、センサ1チップずつ曲げて製造することになるはずです。

 また、やや本質的な部分から逸れますが、私がこの特許を読んだ際の疑問の一つに、
”はて?ぐにゅっと押し曲げた場合、きっちりセンサが凹型に湾曲してくれるのだろうか?1/2の確率で凸型に膨らんで湾曲してしまうチップもあるのでは?”
 というのがありました。
当然のことながら、”運に頼って製造する”なんていうのはまっとうな技術者の採用する方法である訳もありませんので、何等か必ず凹型にへこむ様なカラクリを仕込んでいるはずだと思いました。


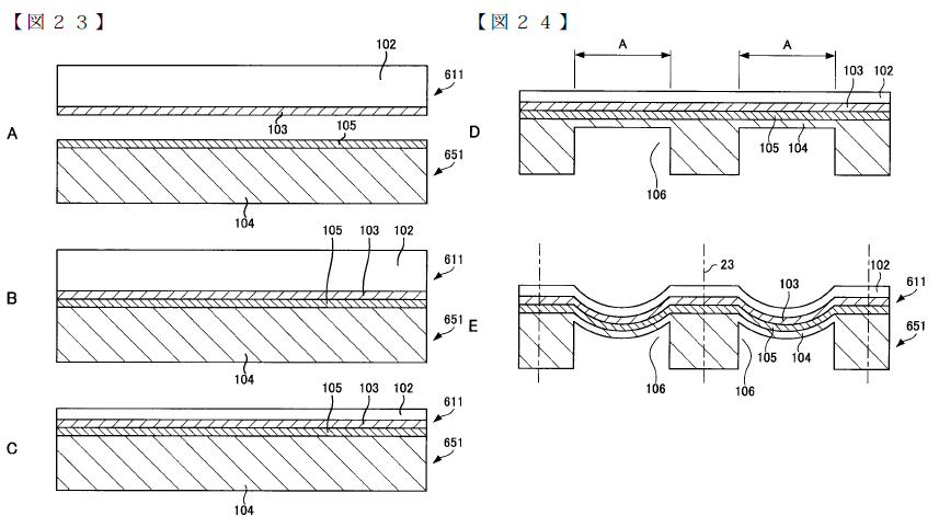
 対して、今回の1) 特開2012-114189特許の方はと言うと、

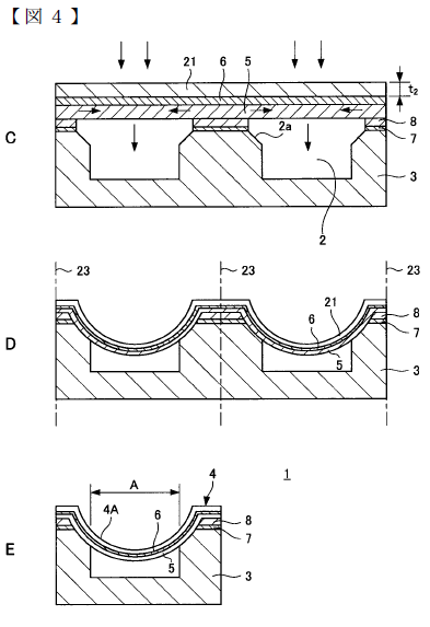
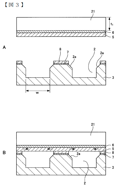
上図3のAの様に、まず(この例では裏面照射型である)センサが作りこまれた21のシリコンウェハと、(裏面照射型センサ製造で元々用いる必要のあった)支持基板と呼んでいるシリコン基板3を用意します。
※ちなみにこの図のA~Dまでは、隣に並ぶ2チップ分の断面図を示しています

 まず一つ目の違いは、前回特許の”台座”に相当するものが、この特許では例えばシリコン基板であると明示されている(変化している?)点です。
そして
シリコン基板3側には、センサチップの画角領域に相当する凹みが既に加工済みで、この凹み自体も半導体の微細加工技術を用いて製造することになっています。
これにより、恐らくはメカ的に作るよりも遥かに精度良く凹み穴の形状及び位置が製造可能になるものと思われます。

 二つ目の違いは、センサチップ側の表面には圧縮応力を有するプラズマシリコン窒化膜6を形成している点です。

次にBの様に、二つのシリコンウェハを何等かの手法により接合します。
 三つ目の違いは、前回台座にチップ毎に接合していたものを、本特許ではシリコンウェハごとに接合している点です。

次にCで、裏面照射型センサの裏面を研磨してセンサチップを薄くします。
例えばt2の厚さは3umという風に書かれています。
するとDの様に、センサが薄くなったことにより、圧縮応力を有するプラズマシリコン窒化膜のお陰で自然と?下凸に凹んでくれます。

そして最後にDからEで、隣接したチップを分割し、目的の湾曲したセンサを得る。

 これらのことにより、以下二つの課題が同時に解決されるという様なことが書かれています。

① センサチップの中心と画角中心は必ずしも一致しない。(例えば前回特許の様な製法では、凹部の中心がセンサチップ中心になってしまい、レンズ中心と画角中心を合わせてしまうと、凹部の中心とレンズ中心はずれてしまう)本特許の製法であれば、凹部の中心が画角中心となるように半導体の微細加工技術によって加工することが可能、かつ
半導体基板同士を精度良く位置合わせ出来るため、
 最終的にレンズ系の光学中心と画角中心とを高精度に合わせることが可能になる。

※例として、従来の組み立て方法では、画角中心と光学中心のズレ(=光軸ズレ)は50um程度。本特許の方法であれば光軸ズレを1um以下に抑えることが可能と書かれています。

② ①と同時に、多数のこの種の固体撮像装置を効率的に製造することが可能
 (※チップ毎に湾曲させるのでは無く、数百チップが作りこまれているウェハごと位置合わせ&貼り合わせ&センサ湾曲が行えるため。その後チップ同士を切り離すだけで所望のチップが製造できる)

 この①と②の効果は、個人的にはこの湾曲センサを製造するにあたり、本当に重要なことではないかと感じます。
恐らく前回特許の様な1チップずつ湾曲させる様な製法では、上記精度と量産性ともに確保不能ではないかと思います。

ですので、私個人は、もし湾曲センサの製造方法として(特許開示されている内容の中で)採用するなら今回の方法であろうと思うのですが、
一つ気になるのは、特許の出願日からは、4つのソニー糸長さん特許の内、この件が最も古く、前回紹介特許の方が新しいという点です。
普通に考えたら、より新しい特許の内容の方が製品に採用される可能性が高くなるように思いますが・・・でも半年程度の違いですし、やはり私は内容的にはこちらの特許の製法の方が断然スジが良いと思いました。

 また、この製造方法と、前回特許のズームレンズに対応した可変湾曲センサの可変湾曲方法との相性は悪くは無く、私が見たところ併用可能であろうというところもポイントかなと思いました。

 最後私の備忘録として、
表面照射型センサや積層型センサにもこの製法は適用可能

↑ 表面照射型(FSI)に適用した場合。
通常にセンサを作りこんだ後に、裏面側を研磨して薄膜化。その後同様に支持基板3を接合し湾曲させる。


積層型センサ(stacked CIS)に適用した場合
ロジック回路チップとセンサチップのそれぞれ表面側を接合し、ロジックチップ側の裏面側を、センサの画角領域のみを薄膜化。
そして同様に湾曲させる。
ロジック回路はシリコン基板の極表面、例えば5nm程度の領域に形成されるので、ほぼほぼ裏面研磨しても問題無い。



PR

コメント

お名前
タイトル
文字色
メールアドレス
URL
コメント
パスワード Vodafone絵文字 i-mode絵文字 Ezweb絵文字

長波長領域の感度

シリコン層が3umになると、600nmよりも長い波長の光の感度が落ちそうですね。IRカットフィルターが不必要になるかもしれませんが…。

Re:長波長領域の感度

>シリコン層が3umになると、600nmよりも長い波長の光の感度が落ちそうですね。IRカットフィルターが不必要になるかもしれませんが…。

確かに言われてみればhi-lowさんおっしゃる通りですね。

(toshiさんには怒られそうですが^^;)個人的にはそうなると赤はともかくグリーン感度の方も心配です。
3umだとG波長(例えば550nmあたり?)も、きっちりは拾いきれなくて、多少スポイルする計算ですよね?
大画素ピッチセンサなら本当に微々たる差なのかもしれませんが、狭画素ピッチセンサになればなるほど、この微々たる差がだんだん馬鹿にならないような・・・?

 ただ、この例えば3umという厚さが、”湾曲センサだからここまで薄くしなければならなくなったのか?”というと、個人的には少し疑問があるのです。
ストレートに言うと”現在の裏面センサも実は既にこんな(3um程度の薄さな)もんじゃないのか?”という意味です。

同じ図の裏面研磨前のt1の厚さは、特許明細上「例えば720um」となっていました。
これを研磨して3umとかにすると思うのですが、湾曲センサの機械的曲げに必要な薄さって3umまで薄くしないと駄目なのでしょうか?
何かメカ素人には、”720umは1mm弱だから曲げられないのは感覚的にはそうだろう。でも3umのレベルになれば、別に4umでも5umでも最早曲げやすさに大差は無いのでは?”と感じます。

つまり、”3umの厚さを例として選択しているのは、現状の裏面照射型センサが既に実績としてそのくらいの厚さだからなのでは?”と。そして裏面照射型センサの何がしかの制約で厚さが3umになっているのではないだろうか?と思った次第でした。

  • imagerマニア
  • 2014/05/06(Tue.)

シリコン層の厚さ

> imagerマニア さん
2010年の時点では、ソニー製BSIセンサーのシリコン層厚は8 um程度とされています。
http://dc.watch.impress.co.jp/docs/review/special/20100304_351111.html
東芝が公開している1.4umピッチのBSIセンサー資料でも、層厚は5umはありそうです。
http://www.toshiba.co.jp/tech/review/2012/10/67_10pdf/a03.pdf
この資料では、画素クロストーク低減法についても言及していますので、isocellのような技術はどのメーカーも開発を進めているのですね。

シリコン層が割れずに曲がる厚みが、3umなのかなと思います。PDの下に配線層を平たく配置すると、その反射で量子効率を上げられるかもしれません。

また、引張応力はバンドギャップを広げるようですね。
http://mos2.w3.kanazawa-u.ac.jp/htms/theme/strained_Si_Homepage/This_is_strained_Si.htm
理論は良く分かりませんが…。

Re:シリコン層の厚さ

>2010年の時点では、ソニー製BSIセンサーのシリコン層厚は8 um程度とされています。
>東芝が公開している1.4umピッチのBSIセンサー資料でも、層厚は5umはありそうです。

 情報ありがとうございます。
やっと読みました。
仰られるように、裏面照射型の素子でも、東芝の断面写真でも最低4um以上はありそうですね(←実際光電変換可能なPD層は東芝のもので3um強の深さの様ですが)。 

今回湾曲センサに関しての比較対象を同じソニー製のものとすると、ソニー製の裏面照射型センサは当時8umで作っていたのですから、特許の”例えば”の通りに湾曲センサが製造されたとすれば、”湾曲センサ製造の都合上の理由により”薄くせざるを得なかった
≒仰られるとおり、3umじゃないと曲げられない
ということなのでしょう。
 きれいに湾曲させるために必要なSi薄さは相当シビアな管理が必要なんですね。認識を改めます。

>この資料では、画素クロストーク低減法についても言及していますので、isocellのような技術はどのメーカーも開発を進めているのですね。

 この資料によると、東芝は今後”金属か屈折率の異なるもの”を埋めるとしていますね。
ISOCELLのPOLY-Siはシリコンに対して屈折率は変わるのでしょうか?
変わらなければ、ISOCELLのクロストークの抑止力は光子に対してはやはり限定的になる気がします。

>PDの下に配線層を平たく配置すると、その反射で量子効率を上げられるかもしれません。
 なるほど。100%敷き詰めることは無理でしょうけれど、ある程度までは技術上難なく実現できそうですね(←もう既にやっているかも)。


>また、引張応力はバンドギャップを広げるようですね。
>理論は良く分かりませんが…。

 確かに・・・理論はよくわかりませんね(^^;)

”歪みシリコン”というものが存在し、それが”トランジスタのチャネル領域に適用”され、そして目的は”移動度をあげるため” ということ自体は(原理は知りませんが)知識としてはありました・・・
が、それがSiのバンドギャップにも作用するというのはしりませんでした。

押しつぶしても引っ張ってもバンドギャップが広がる方向ということの様ですので(←いまひとつ納得はできませんが)、とにかく湾曲させれば暗電流が(1/5なのかどうかはともかく)減るということにつながるんですね。

  • imagerマニア
  • 2014/05/10(Sat.)

屈折率

> imagerマニア さん

>ISOCELLのPOLY-Siはシリコンに対して屈折率は変わるのでしょうか?
物質の屈折率は、その密度で決まります。結晶シリコンと多結晶シリコンは密度が全く同じなので、界面で屈折は起こりません。アモルファスシリコンは数濃度で10%程度が水素原子らしいので、結晶シリコンとアモルファスシリコンの界面では屈折が起こります。密度差が10%とすると、入射角が6°以下になると全反射になりますが、入射光漏れの改善には役立ちそうにありませんね。

Re:屈折率

>物質の屈折率は、その密度で決まります。結晶シリコンと多結晶シリコンは密度が全く同じなので、界面で屈折は起こりません。
 
 密度で決まっているのですね、知りませんでした。
ご教授ありがとうございます。

>アモルファスシリコンは数濃度で10%程度が水素原子らしいので、結晶シリコンとアモルファスシリコンの界面では屈折が起こります。密度差が10%とすると、入射角が6°以下になると全反射になりますが、入射光漏れの改善には役立ちそうにありませんね。

 目的として、”全反射しなきゃ意味が無い”というものでも無いのでしょうが、
ISOCELL等で議論している条件が20~30°というあたりであることを考えると、6°でやっと全反射というのでは確かに・・・
 そもそもアモルファスでなくて、チップワークスの写真を信じるとpoly(多結晶)ですし・・・

  • imagerマニア
  • 2014/05/18(Sun.)

Re:長波長領域の感度

imagerマニアさん

> toshiさんには怒られそうですが

いえいえ。怒りません。(苦笑) 
個人的には、いまのデジカメの赤の再現性に不満はありますが…。単純に、気に入らなければその製品を買わないだけなので何の問題もありません。(笑)

怖いのは、選択肢が無くなってしまうことです。ソニーのセンサーは優秀だと思うのですが、なにか綺麗過ぎて躊躇してしまう面があります。特に、高画素化が進んでからは、自然を求めて里山に行ったのに、いたるところ整地されて手入れの行きとどいた公園になってたと。(苦笑) そんな感じもしてます。

その意味では、キヤノンや東芝などにも頑張っていただいて、多様性が確保される世界を望んでます。多様性、大事ですよね。

私のブログでちょっと書いていますが、この数年で、昔のデジカメも捨てたもんじゃないと感じるようになりました。コンピュータの世界では「最新こそが最善」ですが、カメラに関してはそれは当てはまりませんね。

私だけがそう思っていたのかと考えていたら、周囲の写真好きの皆も同じことを言い始めました。ちょっと安心しつつ、カメラメーカーには「写真って何だろう」ということを再考していただきたいです。;-)

Re:Re:長波長領域の感度

>いえいえ。怒りません。(苦笑) 

 あ~良かった(笑)

>ソニーのセンサーは優秀だと思うのですが、なにか綺麗過ぎて躊躇してしまう面があります。特に、高画素化が進んでからは、自然を求めて里山に行ったのに、いたるところ整地されて手入れの行きとどいた公園になってたと。(苦笑) そんな感じもしてます。

 そんな感じですか(笑) (面白い例えですね。わかるような気がします)

>その意味では、キヤノンや東芝などにも頑張っていただいて、多様性が確保される世界を望んでます。多様性、大事ですよね。

 ”多様性大事” 及び ”選択肢が無くなるのが困る” ←強く同意致します。
(センサやデジカメに限らずのお話で)

>この数年で、昔のデジカメも捨てたもんじゃないと感じるようになりました。コンピュータの世界では「最新こそが最善」ですが、カメラに関してはそれは当てはまりませんね。
>私だけがそう思っていたのかと考えていたら、周囲の写真好きの皆も同じことを言い始めました。

 あ~、ますますカメラが売れずにメーカーがジリ貧に・・・多様性が失われる危険ありですね(笑)


>カメラメーカーには「写真って何だろう」ということを再考していただきたいです。;-)

 難しそうな宿題ですね、数字に表れないもの・カタログに載せられないものを議論するというのは。
 ただ、元来日本メーカー(デジカメに限らず)が強かった理由は、そういう数値化出来ないものを上流から下流の人間全てに浸透させて認識を共有させることが出来たから良いものが作れたという側面があるのではないかと思うので、
やはり日本メーカーに期待したいところですね。
 ↑デジカメはほとんどが日本メーカーだからそうするしかないというのもありますが(^^;)

  • imagerマニア
  • 2014/05/18(Sun.)

湾曲センサーの実物

湾曲センサーの実物が公開されましたね。
http://spectrum.ieee.org/tech-talk/semiconductors/devices/sony-creates-curved-cmos-sensors-that-mimic-the-eye

Re:湾曲センサーの実物

おお~。
いつも貴重な情報ありがとうございます。

勝手にイメージしていたよりも曲がってる気がします。
願わくばソニーももうちょっと解像度の良い写真を出してくれれば・・・(^^;)

The team has made somewhere in the vicinity of 100 full-size sensors with their bending machine.
↑最後のこの文、
100個のフルサイズセンサが用意できているという様な意味でしょうか?
「今回の発表用に1チップだけしか成功していない訳じゃないよ」という様な意図のアピールと読むべきでしょうか?

いずれにしても、この週末またblogに書かせてください。

  • imagerマニア
  • 2014/06/13(Fri.)

Re: Re:湾曲センサーの実物

> imagerマニア さん

> 100個のフルサイズセンサが用意できているという様な意味でしょうか?
「今回の発表用に1チップだけしか成功していない訳じゃないよ」という様な意図のアピールと読むべきでしょうか?

一文前の"But Sony's work is might be a bit closer to mass manufacture. "と、ご指摘の文の"with their bending machine"も重要だと思います。発表では、センサーそのものだけでなく、大量生産用機器の開発も進んでいることをアピールしたのでしょう。

無題

日経Tech-OnにもVLSIシンポジウムでのソニーの発表について少し書いてありますけど、こちらは概要だけで新しい情報は特にないですね…。
http://techon.nikkeibp.co.jp/article/EVENT/20140612/358020/

どうやって曲げるのかについての詳細は明かされなかったとのことですし、もうしばらくは謎のままですかね。

Re:無題

>FTさん

>どうやって曲げるのかについての詳細は明かされなかったとのことですし、もうしばらくは謎のままですかね。

 謎のままですね~。

 このソニーのセンサは確実にchipworksの解析案件になると思いますので、いずれ構造や厚さや曲率のデータは待てば出てくると思うのですが、(←一般にも公開されると信じたいです)
製法の解析は実際作っているところを見ないと、出来たものを後から解析するのでは限界がありますからねー。
構造からある程度製法の予測精度は上がることはあると思いますけど、謎な期間がもうしばらくの間だけで済むことを期待したいですね。

  • imagerマニア
  • 2014/06/15(Sun.)

ブログ内検索

カウンター

最新コメント

[03/28 hoge]
[03/26 hi-low]
[03/22 山川]
[03/18 hoge]
[03/08 hi-low]
[03/04 hoge]
[02/26 山川]
[02/26 山川]
[02/19 hoge]
[02/18 山川]
[02/05 hoge]
[02/05 hi-low]
[01/29 通りすがりです]
[01/28 FT]
[01/23 hi-low]

カレンダー

12 2026/01 02
S M T W T F S
1 2 3
4 5 6 7 8 9 10
11 12 13 14 15 16 17
18 19 20 21 22 23 24
25 26 27 28 29 30 31

バーコード

プロフィール

HN:
imagerマニア
性別:
非公開