忍者ブログ

Imager マニア

デジカメ / デジタルビデオカメラ / スマホ用の撮像素子(イメージセンサ/imager/CMOSセンサ)について、マニアな情報や私見を徒然なるままに述べるBlogです(^^;)

[PR]

×

[PR]上記の広告は3ヶ月以上新規記事投稿のないブログに表示されています。新しい記事を書く事で広告が消えます。

ソニー湾曲センサ特許 ズームレンズとの組み合わせも可能!? ~レンズの可変移動に連動して曲率を可変制御

以前のソニーの湾曲センサの学会(シンポジウム)発表の速報エントリの続編(?)です。

今年6月、ハワイで行われるVLSIシンポジウム
その公表されたプログラムのSONYの湾曲センサの発表者”K.Itonaga”さん

 日本での特許の公開件を対象に以下で検索。
①出願者:ソニー & 発明者:糸永
出願者:ソニー & 発明者:糸長

 Itonagaさんの漢字がわからないのと、日本語の特許を読みたかった(^^;)ので、あてずっぽうで引っ掛けに行ったら運良く2回目の”糸長”さんで引っ掛かってくれました。

多数特許の中から湾曲センサに関係しそうなものは以下4件。
1)特開2012-114189
2)
特開2012-182194
3)特開2012-182243
4)特開2012-182244

 が、「あれ?」上記特許の発明者のフルネームは皆、糸長”総一郎”さん。
これだとイニシャル的には”S”.Itonagaになるはず。
「特許執筆されてから今年までの間に婿入りされた!?それとも同姓の別人!?結構珍しめの苗字だと思うけど・・・」

 まあ関連特許が見つかったので細かいことは気にせず(^^;)いきたいと思います。

(※上記4件はいずれも”公開特許”であって”登録特許”ではありません。従ってその後登録されている可能性もありますが、上記公開特許の時点ではまだソニーの権利と日本の特許庁が認めている訳ではありません)



拍手[2回]

上記1)の特許の出願日が2010年11月24日
 上記2)~4)の特許の出願日が全く一緒で2011年2月28日
2)~4)の特許は元は同一の1件の特許だったものが、”何か長すぎね?分けた方がわかりやすくて通りやすいんじゃね?”的なことで、もしかしたら分割されたのでしょうか。

 上記出願以前には、ソニーの糸長さんが湾曲センサの特許を出願されている気配はざっとみる限りありません。上記出願以降は(特許の出願から公開までは通常最低1年は要しますので)出願されている可能性もありますが、現状わかりません。が、2012年中の公開件にはなさそうです。

 つまり、重要そうな特許なのに、随分と短期間にまとめて出願し、そして以後はまた静観というような状態の様です(←ソニー内の他の方が書かれている可能性は大いにあるとしても)。
 出願から今年のVLSIシンポジウムの発表までの期間が3年少々。
この期間に量産技術を立ち上げた(=確立した)という可能性は十分あり得る時間かもしれません。つまり、VLSIシンポジウムの発表と前後してカメラ製品の発表があってもおかしくないかもしれません。


 で、実際の特許の方ですが、ざっと見るに、
上記1)と2)が私個人的にはおもしろそうだと興味を惹かれました。
今回はミーハーに反響の大きそうな2)特開2012-182194の方を採りあげてみたいと思います(^^;)。

※ちなみに最初に本特許を読んでいて私が興味を魅かれたことをまとめて書いておくと、

1.冒頭の図面の様に、現在ソニーが想定している湾曲センサは、文字通り(なのか?)3次元にお椀形状をしていそう
つまり二次元に?1方向のみロールしている形状(例えばセンサ長辺方向のみ湾曲していて短辺方向断面のみ見れば平面のまま)では無いよう。

2.(大きいサイズのセンサの方が湾曲させやすく、また商品としての訴求効果も大きいのでは?と考えていましたが、)特許内の明細で”例えば”的に引用されているセンサチップサイズは4×4mm□だった。
 つまり、オーダーとしては1/3インチ型程度の大きさのチップを湾曲させることをまず念頭に置いているよう

3.以下複数の実施の形態のいずれかの方法により、撮像部の曲率を所要の範囲内で任意に可変させることが出来る
 この素子は、ズームレンズを備えたカメラなどに適用するのが好適
(レンズが広角ズーム位置の時に以下複数の実施の形態のいずれかの方法により、曲率を大きくする)



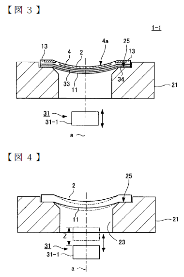
[第一実施の形態]

↑チップ4と台座21を断面で見た図

・上側が光入射側
・台座21は、光入射側と反対側は閉じてなく開口(23)している
・33が磁性膜。31-1がマグネット
・マグネットを撮像領域中心部を通る”a”の線上を上下させる
・マグネットが近づくと引っ張り力大きくなり曲率大。離すと製造時の素の曲率に戻る


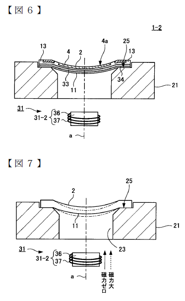
[第二実施の形態]

↑見方は以後も第一実施の形態と同様

・第一実施の形態と異なるのは、31が磁性コアにコイルが巻かれた電磁石31-2となっている点
・マグネットの様に上下させるのでは無く、コイルに流す電流を制御することによって引っ張り力を調節
・電流量⇒大で、磁力⇒大 = 曲率⇒大


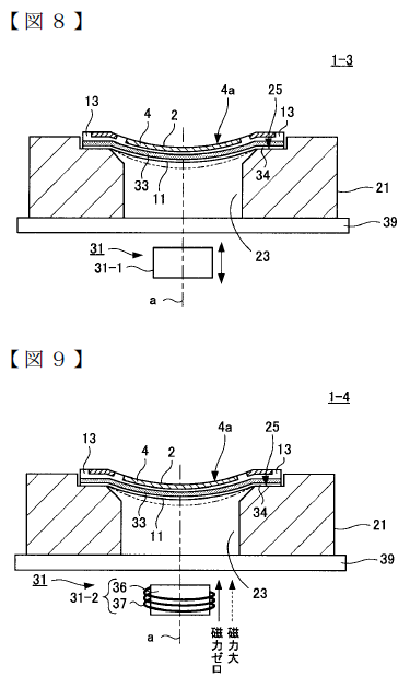
[第三及び第四実施の形態]

↑図8が第三実施の形態、図9が第四実施の形態

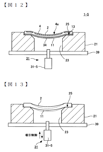
・第一実施の形態及び第二実施の形態に対して、それぞれとも台座21の開口がなくなり、底板39が追加されている
・狙いは、底板39をする際に台座21の開口23内のガスを吸引し、内部を負圧とすることにより、センサチップの曲率をより精度良く設定すること。底板39はこの負圧を維持するため
・その後の曲率の制御の仕方は第一及び第二実施の形態と同様


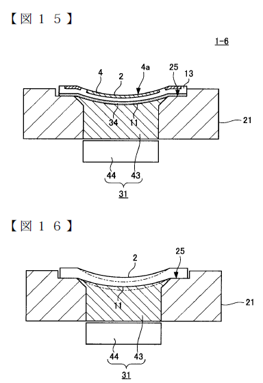
[第五実施の形態]

初めて磁力による曲率制御ではなくなる実施の形態
開口部23内の気圧を吸引装置31-5によって、吸引制御する方式
・開口23内の負圧を大きくすると曲率が大きくなる


[第六実施の形態]

・熱的に体積収縮する接着剤43を開口部23内に重鎮し、温度制御部44を具備
・常温時、製造時の曲率。44で冷却時、接着剤43が収縮し、センサ曲率⇒大


[第十実施の形態]
※第七~九実施の形態は、本特許において本質的なものでないと思われるため割愛

・第二実施の形態の可変制御用の制御部の電磁石がコイル単体に変わったもの
・更にそのコイルの巻き方の形状や密度、センサとの距離を、所望の湾曲形状になるように調節してあるもの
・上図23~25は、コイルをそれぞれ巻き方や形状、配置を変更した例
・具体的な制御方法は、第二実施の形態同様、コイルに流す電流を調節することによる
・この方法を用いると、一律の曲率ではなく例えば中央部の曲率を大きく周辺部は小さく・・・といった制御も可能らしい。またメリットは不明だが、楕円に湾曲・・・等も可能なのだとか・・・


・上図26は、第十実施の形態の最後の例
・コイルは平面形状だが、巻く密度を調節したもの
・やはり、所望の湾曲形状になるように密度を変更している
 (上図はセンサ中央部の湾曲率が大きくなるようにしたものだそう)



★で、結局ソニーはどの方法を用いるのか?
⇒いきなりこれを製品化するのは勇気がいるし難しそう。
 最初の湾曲センサ搭載のカメラは、やはり単焦点レンズ機で、撮像素子の湾曲のみ(ズームレンズ用の可変制御不要なもの)できそう

 当たり前過ぎる結論ですね(^^;)
しかし、これでは芸が無いですね。
ソニーのことなので、きっと何製品目かには本当にズームレンズ用にこの湾曲可変制御可能な撮像素子を実用化してくるのでしょう。 
 ということで、じゃあ・・・

★実際製品化する時にはどの方法をソニーは用いるのか?
 この特許を見ていると
”他社が簡単に追随出来ないように、自社で使う予定は無いんだけど、同様の機構を実現出来そうな方法は思いつく限り全て書いておこう”
 という匂いが凄くします。

私の予想する結論を先に書くと以下どちらかでは無いか?と思います。
 ⅰ)最後の第十実施形態のコイルの形状や密度を弄ったもののどれか
 ⅱ)図9の第四実施の形態の底板付きで負圧した上での電磁石制御

 まず、他の実施の形態の方法と比較して、コイルに電流を流す方法が最も電気的で、制御性が良さそうに思うからです。

 加えて、第一実施の形態等の”マグネットを上下させる”方法は、”上下させる機構及びそのスペースが必要”な点が、スマホやコンデジ等コンパクトなモバイル機器には特にデメリットに感じます。

 また、第五実施の形態の”吸引方式”は、”吸引によってセンサの曲率を変えるなんて、一体どんだけの勢いでバキュームすればいいのよ?”という疑問があります。
感覚的には何か凄い大掛かりな馬力あるものがなければ無理な気が素人感覚ではするからです。下手すると動画撮影してズームすると”きゅいぃ~ん”みたいな音が録音されてるみたいな・・・(^^;)

 一見すると、個人的に最も筋が良さそうに思えるのが、第六実施の形態の”熱収縮接着剤方式”。
しかし”温度制御部44”なるものが必要で、温度制御するのに電気(バッテリー)食いそうですし、そもそもこんなものが導入出来るのであれば、現状でもライブビュー時の発熱冷却用に導入されていてもおかしくなさそうです。
(つまり、現状コストやスペース等何等かの理由で導入出来ていないものを新たに導入するデメリットを上回るメリットをこの曲率可変制御センサが持たなければなりません ←逆に言うとメリットが上回れば、最も採用しそうな方式な様に個人的には思います。以前のエントリで”曲率を制御することによってバンドギャップが広がり暗電流が1/5になる”というソニーの発表内容はにわかには信じられないと書きましたが、それが実際はこの方式で曲率を上げる際に温度を下げるから暗電流が減るというのであれば納得できます。)

 電磁石やコイルの方式も正直難がありそうに思います。
磁界が変化することによってセンサの中の電界に変化が起きて、センサ出力に(実際の絵には無い)ノイズが出そうに思うからです。
 しかし、この方式が中でも最も採用されそうだと感じたのは、最初に書いた制御性の問題以外に、一つ上の写真の図27の様に、”撮像チップの裏面及び側面を金属膜68で覆う”という構成が実施例で述べられていたからです。
そしてその目的が、正に”コイルやマグネット、電磁石からの磁界が伝わらず、撮像チップの誤動作を防ぐことが出来る”とありました。
実際に物を作って動かした時の弊害を確認したかの様な記述になっており、リアリティを感じたから、という理由からでした。
ちなみに具体的な金属の例として、アルミ、銅、タングステン、チタンが挙げられています。

 次回その気が起きましたら、もう一つの方の特許の方もエントリしてみようと思います。


その他、細かいことですが、私が気になったことを備忘録として以下に。
順不同

4.目的の曲率にするために、チップの厚さを調節しても良い。この際、チップが小さいほど薄くするのが好ましい

5..開口部23の上縁にテーパーを設けたのは、そうでない時に開口23のエッジ部分に位置するチップ箇所に応力を集中するのを避けるため

6.台座21は、撮像チップよりも膨張係数の大きい材料を用いる。
  例えば、ステンレス鋼、アルミニウム

7.チップの外周部に平坦部25を設けることは、クラックなどでチップが損傷することを防ぐ上で重要

8. 上記外周部25が、台座21に4辺ともきっちり固着させれていることが(湾底部にしわを作らないために)重要

9.わざと曲率を可変調整して、画面中央にピントが合い、周辺部をボカす撮像も可能

10. 21の台座をそのままパッケージ(の一部)として用いても良い
 ↑この辺の記述に実用性を意識したリアリティを感じる



PR

コメント

お名前
タイトル
文字色
メールアドレス
URL
コメント
パスワード Vodafone絵文字 i-mode絵文字 Ezweb絵文字

名前の読み方

> imagerマニア さん

”糸長 総一郎”さんは、”いとなが かずいちろう”とお読みするようです。
http://patents.justia.com/inventor/kazuichiro-itonaga

Re:名前の読み方

>”糸長 総一郎”さんは、”いとなが かずいちろう”とお読みするようです。

 おお!そうでしたか。
>糸長さん 失礼いたしました

・・・って、ご本人がこんなとこ見てる訳ないですよね(^^;)
>hi-lowさん ありがとうございました。

>http://patents.justia.com/inventor/kazuichiro-itonaga

↑上のサイトってどういうサイトなんでしょうか?
お恥ずかしながら(?なのか?)初めて利用?しました。

  • imagerマニア
  • 2014/04/28(Mon.)

センサーがゴムみたいに伸びる?

素人の疑問ですが、図を見ると「センサーがゴムみたいに伸びるの?」という疑問が出てきます。子どもの頃、段ボールに切れ目を入れて曲げて工作した経験などから、実施の形態などで描かれている図(図4とか図7とかのことです)のようになるには、固いものだと無理のような気が、、、 現在使われているシリコン以外の素材が使われるのでしょうか?? (^^;

Re:センサーがゴムみたいに伸びる?

>素人の疑問ですが、図を見ると「センサーがゴムみたいに伸びるの?」という疑問が出てきます。固いものだと無理のような気が、、、 現在使われているシリコン以外の素材が使われるのでしょうか?? (^^;

 私も同様「伸びるの?」という疑問を持っています(笑)
間違い無いと思われるのは、使われているのはシリコン想定です(少なくとも特許上は)。
実際図面ほどには湾曲調節の幅は大きくなくて、もっともっと僅かな変化を想定しているのでしょうか。

 現状湾曲センサ自体も量産化は発表されていない段階なので、普通に考えたら
「こんなの出来ないだろ」
で済ますところだと思います。
 が、個人的に今度の発表を決めた時点でソニーは湾曲センサ自体は製品化する気だろうと思っていまして、そうすると
”単焦点コンパクトのためだけの技術開発のために(恐らく莫大に掛かったであろう)研究開発費を掛ける判断はしないのでは?”
 というところと、この特許の存在から、ズーム用に随時曲率を変えることも可能なのかな?と。

  • imagerマニア
  • 2014/04/30(Wed.)

Re:センサーがゴムみたいに伸びる?

シリコン基板の強度に影響を与えない程度の湾曲を加えるのでしょうね。
像面湾曲の半径は、単レンズではガラスの屈折率X焦点距離で近似できるそうですが、複合レンズでは光線シミュレーションしないと分かりません…。

撮像面湾曲センサーを使えば、電子補正で対応できない像面湾曲が補正されますので、レンズ構成が簡単になりカメラユニットの低コスト化や一層の小型化が可能になります。大きさを変えなければ、より明るいレンズや広角レンズを装着できます。
メインターゲットは、組み込み用カメラユニットでしょう。

> imagerまにあ さん
http://patents.justia.com/ は、シリコンバレーの特許関連事務所が公開しているサイトのようです。私も利用方法は良く分かりません(笑)。
”糸長総一郎”さんの読み方の裏付けとして引用しました。

ブログ内検索

カウンター

最新コメント

[03/28 hoge]
[03/26 hi-low]
[03/22 山川]
[03/18 hoge]
[03/08 hi-low]
[03/04 hoge]
[02/26 山川]
[02/26 山川]
[02/19 hoge]
[02/18 山川]
[02/05 hoge]
[02/05 hi-low]
[01/29 通りすがりです]
[01/28 FT]
[01/23 hi-low]

カレンダー

04 2026/05 06
S M T W T F S
1 2
3 4 5 6 7 8 9
10 11 12 13 14 15 16
17 18 19 20 21 22 23
24 25 26 27 28 29 30
31

バーコード

プロフィール

HN:
imagerマニア
性別:
非公開