前回エントリの続きです。
”
ソニーのシネマカメラPMW-F55に採用されているCMOSイメージセンサのグローバルシャッタはこの様な方法で実現されているのでは?”
というのを、ソニー出願の特許から予測しました というお話の続きです。
[2回]
で、1年のブランクを空けて(←2012年公開件が無い)2013年公開の3件。
結論から言うと、
”特開2013-5396”の構成及び段落【61】から始まる[変形例]に示されている駆動方法が、PMW-F55搭載撮像素子に採用されているのではないかと予想します。
理由は・・・
・最も新しい特許の申請件であり、かつ2012年第4四半期発表カメラの開発期間であろう2011年に申請されていて、時期的に矛盾が無いから
「おいおい、ここまできて技術的な根拠無いのかよ!?」という突っ込みご容赦を(笑)
単なるimagerマニアの私の適当な技術根拠より、実際はこういう予想の仕方の方が当たる確率高いと思います(^^;)。
特開2013-5937は、上記5936と構成及び基本の駆動方法は一緒。ちょっと主張したいことが異なったために分割したというだけでしょう。
特開2013-21471は、上記2件より画素構成がやや複雑になり、かつ”グローバルシャッタ機能搭載してもダイナミックレンジが減らないように”という課題に真正面から取り組んでいて、加えて補正の仕方などにも突っ込んで言及されています。
申請時期からすると最も最近の件なので、上記予想方法からするとこの特許件が最も本命となる訳ですが、以下から述べる理由により、
movie(CINEMA)専用のF55用のセンサとしては不適な駆動方法の特許となっています(←私の理解間違いがなければ)。
上記理由と、
”-5936件は逆に動画に特化した駆動方法が書かれているから”
というのが、この件がF55センサ採用件と考えた二つ目の理由です。

↑ 2013-5936件の図面
2013年に公開された3件に関しては、一転して裏面照射型と絡める図面や記述は無い(が、否定する内容も当然無い)。
基本的な画素回路の構成は極めて一つ前の裏面照射型の件と似ています。
ただし、信号電荷を一時保持しておく蓄積部の構成方法が、一つ前はメタルと誘電体で構成される容量であったものが、この特許風に言うと”CCD構造”に変わってます。平たく言うとPoly-Si電極直下にn型のフォトダイオード(みたいなもの)を拡散層で構成しています。つまり、CCDの垂直CCDみたいなことになっているため、CCD構造と呼んでいるのでしょう。
余談ですが、この特許の方式が現実的に有用であるかダメダメであるかは別にして、ここで言う
”CCD構造”というのをCMOS型のイメージセンサに取り入れるという発想は容易には出てこないのではないでしょうか?少なくとも単なるimegerマニアの私には出てきません。
この発想はCCDとCMOS双方のイメージセンサに取り組んだことがある人間もしくは組織にしか出てこないように思えます。「事実上イメージャーとしてのCCDを起ち上げたソニーらしい構造だな」と、何だか泣きたくなる気分になります(^^;)
そういうこともあって「PMW-F55採用の撮像素子のグローバルシャッタ方式は是非このCCD併用方式(?)であって欲しい」という希望もあり、そしてそれが本方式が本命!と押させてもらってる理由の5%くらいは占めています(笑)
さて、私的にはこの特許の(CCD構造のメモリ部を持つこと以外の)ポイントは以下の様なところかなと思います。
1)CCDとTrfという二つの転送電極がある
2)フォトダイオードとCCDメモリ部24との電位障壁よりも、フォトダイオードとそこからオーバーフローした蓄積電荷を排出する排出部30との電位障壁の方が低い ←本件では動画に適した駆動にするために重要なポイントになっている
3)フォトダイオードのリセット方法が、Rst→Trf→CCDのスイッチをONして行うのでは無く、Drnというオーバーフロー排出部側のスイッチをONすることによって行っている ←これも本構造では現実的には動画に必須
4)フォトダイオードから信号電荷を読み出す際、1)の二つの転送電極を同時にONし、CCDメモリ24と通常FD25へ同時に電荷転送している
5)高輝度側の信号はFD蓄積かつCDSはやや杜撰で良いと割り切る駆動(≒思想)
1)と4)で、CCD構造メモリと通常のFDの二つの電荷蓄積部を用いることによって、フォトダイオードと同じ平面上にグローバルシャッタのための全画素一括転送時の一時電荷蓄積部を設けても、その面積を最小に抑えることが出来ることを狙っているようです。
CCDメモリ24ははなからフォトダイオードの蓄積容量より小さく作る思想(←そのため飽和減少につながるフォトダイオード面積減少を最小限に食い止める)。そして4)の転送時にCCDメモリ24から溢れる分は捨てずにFD部25へも蓄積する(フォトダイオードの蓄積電荷は無駄にせず、飽和は減少させない)。
ここで私は「ん!?二つのスイッチを同時にONしてしまったら、信号電荷がCCDメモリ24に溜まらずにいっきにFDまで転送されてしまうじゃないか!?」
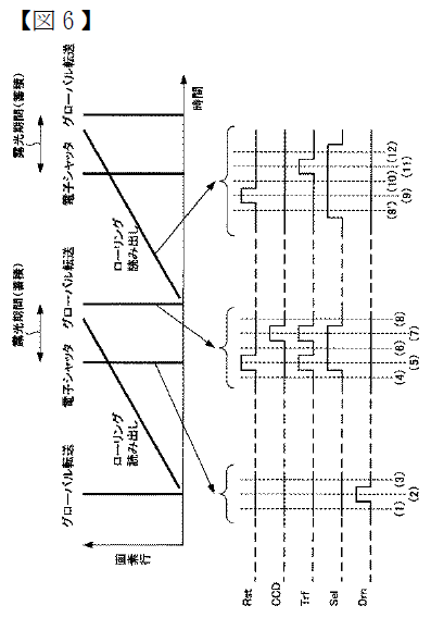
とひっかかりました。が、下図5イマイチわかりずらいのですが、CCD電極がメモリ24上にも延在しているため、ポテンシャル構造的にこの駆動方法で確かにうまくいきそうだと納得出来ました。(7)と(10)の二つの転送時のポテンシャルの違いが味噌でしょうか。
そして5)の思想。光ショットノイズに埋もれない低照度時の信号電荷は、良好な一時電荷蓄積部であるCCDメモリに100%保持され、
光ショットノイズが大きい(相対的にその他のノイズが埋もれてしまう)高輝度時には、その信号電荷の一部を劣悪な(?)一時電荷蓄積部FDに保持させても良いだろうという割り切り。
更にその後の駆動でも、
①まずFD部の(高輝度)信号読み出し
②次にFD部をリセットし、リセットノイズを読み出し
③CCDメモリ24の(低照度)信号読み出し
④後段の処理回路で、①-②及び③-②でCDSをそれぞれ行う
↑③と②のCDSでは画素のトランジスタの閾値ばらつきとRstスイッチのリセットノイズ双方を取りきれますが、①と②のCDSでは後者のリセットノイズは取りきれません。
「高輝度時の信号のランダムノイズは光ショットノイズが支配的だから、その他のノイズは増えても良い」という潔い割り切りと頭の良さを感じます。
そして2)と3)です。
PMW-F55は仕様として、1/60秒シャッタースピードと60pを同時に実現可能だと思います。ここからセンサ仕様として求められることは、”1/60信号蓄積と1/60秒以下の信号読み出しスピードを両立せねばならない”ということ。
つまり、
信号蓄積と読み出しは同時に行わなければならないということです。何故ならこれらの動作をシリーズに行った場合、信号蓄積だけで1/60秒を消費してしまいますので、読み出し動作を”0”で行わない限り60pの仕様が満たせません。
ここで本特許の61段落目の[変形例]では、
・CCD電極をONして、フォトダイオードの信号電荷をメモリ24とFD部に転送し終わった後、Drnスイッチでフォトダイオードをリセットし、すぐさま次の信号蓄積期間へ移行。←Rstスイッチ側からリセットをかけると、前フレームの電荷が読み出す前に消えてしまう
・更に強い光量が当たってフォトダイオードから信号が溢れる際にも、まだ読み出し終わっていない前フレーム蓄積の電荷が残るメモリ24側では無く、オーバーフロー排出部30側の電位障壁が低い側に溢れさせることによってCCDメモリ24側には溢れさせないという構造
上記二つは、このグローバルシャッタと動画読みを実現するのに重要な要素だと思いました。
↑誤りがあったら是非教えてくださいm(__)m
本件よりも後に出願されている特開2013-21471には、上記の様な動画を意識した駆動方法には一切触れられていません。この様な駆動が不可能な訳ではないので決定的な理由にはなりませんが、これがPMW-F55搭載撮像素子においては本件の方が本命だと考えた理由です。
当たるも八卦当たらぬも八卦ですが、いつか真相がわかる日がいいな~と思っています(^^;)
PR