いや、大した話では無いのですが、しばらく前まで私タイトルのことが理解できずに気になってました。
私が初めてVTG(バーティカル トランスファー ゲート=縦型転送ゲート)のことを知ったのが、
このチップワークスがIISWで発表した解析記事最後あたりにある
ソニーのコンパクトデジカメWX100搭載撮像素子の断面写真。
↑ソニーWX100搭載撮像素子の断面写真 写真はchipworksより
”ん?どうやってこれ転送するの?実際には写真の奥行き方向にフォークみたいな門みたい何本もこの縦型のゲートがあって、ゲートで挟み込んだところをゲート印加時に転送路にしているのかな?”
とか考えていました。
しばらくして、
サムスンがISOCELLなるものを発表。
そして
ISSCCでの同じくサムスンの発表内容から、ISOCELLと彼らが呼ぶ画素セル構造にVTGなるものが必須であることを知りました。
更にしばらくして、
チップワークスの解析記事と上記ISSCCでのサムスンの発表資料からと思われる図を見て、どうやらソニーWX100で用いられているものと同様の転送ゲートをサムスンも取り入れているのだなということを確信。
ということで、VTG(縦型転送ゲート)により興味を引かれてのエントリとなりました(^^;)。
[3回]

↑サムスンの縦型転送ゲート構造(右図)の断面模式図
①
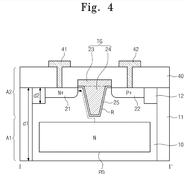
という訳で、草分けとなったであろうソニーの特許(
特開2010-114273)を探し、その特許からの図面を以下に何枚か。
応用例として何例か挙げてあるだけで、いずれも原理というか転送方法は全く一緒なのかなと思いました。
冒頭のソニーWX100搭載センサは、上記特許の図13あたりになるのでしょうか。
上のソニーの特許の図面の
いずれもR1で示されたラインに沿って、ゲート電圧を正に印加すると埋め込まれたPD(n+領域15)からFD領域(n+領域11)への転送チャネルが形成され電荷転送が行われると。
つまり私が理解しやすいように平たく言うと、以下のようなのかなと思いました。
平面型(?)転送ゲートの際の転送チャネルは平面に水平に形成されていたが、
縦型転送ゲートの場合は、転送チャネルは縦型転送ゲートに沿って縦方向に形成される
もう少言うと、今までの平面型(?)の転送ゲートと異なるのは、
1)PDとFDが縦方向に分離されている (分離は今まで通りp-領域で)
2)縦方向に分離されたPDとFDの間に同じく縦方向のゲートが配置されている
上記を私が理解出来ておらず、今までの平面型と同じ理解でいたために、冒頭の
”縦型転送ゲートは一体何がいいんだ?これで転送がしやすくなるというのであれば、(チャネルの形成方向は水平のまま)きっと深さ方向にもチャネル領域を広げたに違いない。であれば転送路をゲートがフォークの様に挟んだ構造なのか?”
という誤解に至っていました。
で、
VTG(Vertical Transfer Gate)の(今までと違って)
何がいいのか?
ということに関して言うと、以下の様に理解しました。
今まで平面型ではFD領域を作るためにその分PDの平面で見た面積を削る必要があったのに、
裏面照射型センサに縦型転送ゲートを導入することで、
PDとFDを平面でなく縦方向に分離することが可能になり、その結果PDとFDを縦に重ねて作ることが可能になった。
その結果、特に画素微細化が進んだ際に、PD面積を画素の中で(FD領域を無視して)優先的に大きく取ることが出来、感度及び飽和の低下を最小限に食い止めることが出来る。
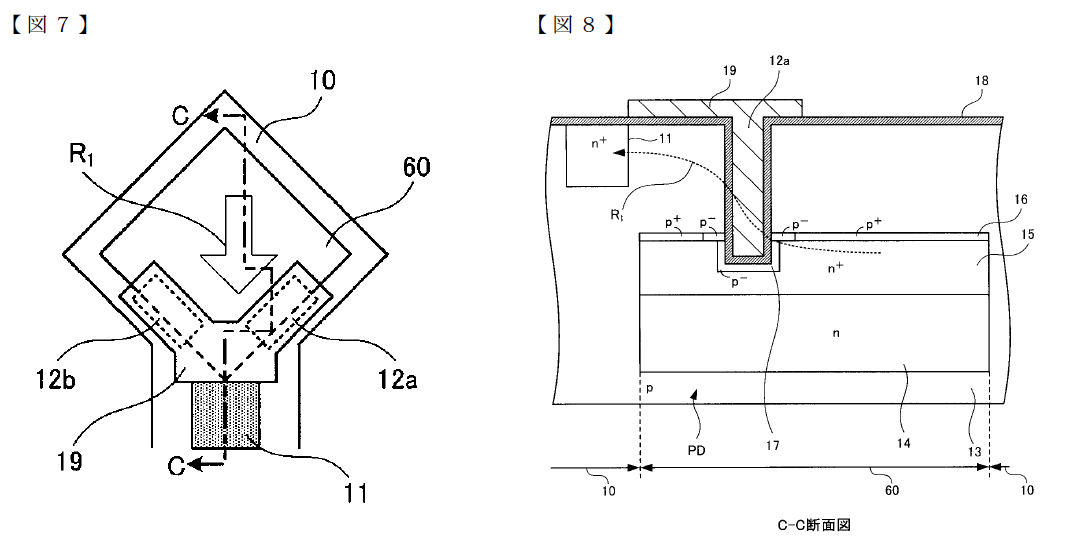
ちなみに、以下はsamsungのUS20130320407より。
PDにVTGが刺さっているか否かの違いはありますが、今回私が知りたかったPDとFDの間の転送路の出来方は、点線矢印を見る限り一緒の様です。
ちょっと今回時間がなくて、私にしか理解出来ない書き方をしている感がいつもよりアリアリで恐縮です(^^;)
しかも”私はこう理解した”
ということの備忘録であり、果たして書いてあることが正しいかは微妙です。
ご了承ください。
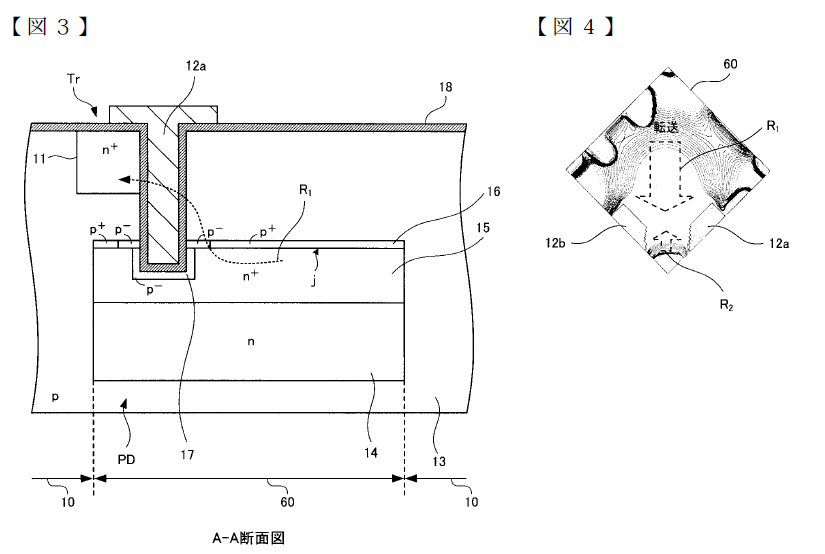
最後に、別のソニーの特許(
特開2010-073840)図面。
今までのソニーとサムスンの特許図面や模式図などは、みな、PDとFDそれぞれに縦型転送路が接していた(もしくはほぼ接していた)ので、チャネルが形成されればポテンシャル的に電荷は無事転送されそうな感じがするのですが、
上のソニーの図面でFD部は”4”なのですが、"6"の縦型転送ゲートと明示的に(?)、離れて形成されている図になっています。
私の現状の理解では、この構造では転送がうまくいきません(≒チャネルがFDまで延びないように思います)。
どうなっているんでしょうか?
PR