忍者ブログ

Imager マニア

デジカメ / デジタルビデオカメラ / スマホ用の撮像素子(イメージセンサ/imager/CMOSセンサ)について、マニアな情報や私見を徒然なるままに述べるBlogです(^^;)

[PR]

×

[PR]上記の広告は3ヶ月以上新規記事投稿のないブログに表示されています。新しい記事を書く事で広告が消えます。

Canon "Dual Pixel CMOS AF"(新方式像面位相差AF)搭載 撮像素子

 キヤノンが一眼レフカメラ”EOS 70D”を発表
目玉は彼らが”DualPixelCMOS AF”(デュアルピクセルCMOS AF)と呼ぶ機能を搭載した撮像素子とその能力(≒速度)。
その能力に関しては、キヤノンの公式サイトにいくつかの動画がupされています・・・
が、「公式のものは信じれない!」という方には、このサイトの下の方で2種類のレンズ×ワンショットAForサーボAFの組み合わせの計4種の動画がupされているようですのでどうぞ。
 このAF速度に対する世間の反応は、「凄い!」から「普通じゃね?」まで様々なよう。しかし「キヤノンの今までのAF(←ハイブリッドCMOS AF)よりは速い」というのがどうやらどこでも共通見解(^^;)


 さて、そんな話題のAFの能力(速さや精度)も、カメラが発売されてからしばらくすれば評価は定まってくるでしょうから時間が解決。
imagerマニアとして興味があるのはやっぱりその原理と構造(^^)。
しかし今回のAF原理は、どうやら基本今までの光学ファインダー用AF(?)と同様なよう。
と言っても、私自身はさほど”従来のAF”のことを知らないのですが、概念と概略の構造は冒頭二つ目のリンクやこちらのページの動画である程度わかります。

 ですので、今回はそんな新しいキヤノンのデュアルピクセルCMOS AFの二つのフォトダイオードの隔て方について(公式発表を読んで)興味が湧いたので特許を調べてみました。

 キヤノンの今までの(=EOS kissX6i)の像面位相差AFの配置はこちら

new-cmos-sensor.jpg






↑キヤノンサイトにある”Dual Pixel CMOS AF”の概念の構造模式図(?)
 

拍手[3回]

 改めて今回キヤノンの"Dual Pixel CMOS AF"について、公式発表からわかることの概略をまとめると

①2020万画素撮像素子
②コントラストAFと異なり通常の位相差AFと原理は同じため、合焦方向を迷うことが無い
③以前までのキヤノンの像面位相差AFの様少ない位相差用画素が点在している訳では無く、画素全てが位相差用のAFも兼ねている ≒ 全ての画素が二つの独立したフォトダイオードから成り、別々に光を溜め込み&読み出すことが可能
④キヤノン曰く「STMレンズ装着時に従来の像面位相差AFよりも約30%の高速化を達成」
⑤ほぼ全てのEFレンズでの精度を保証するため、今回の像面位相差AF使用可能なのは撮像エリアの(中心から)80%の領域に限る ←まあそれでも十分広い領域だと思いますが
⑥キヤノン曰く「撮影画像への悪影響(≒点傷)は全く無い」


 ①、②はまあともかく、今回絶対的にオリジナリティーを感じるのは③です。
全有効画素が撮像と位相差AFの機能を兼ね備えている・・・
 実際のAF速度や精度が仮にプアであったとしても、imagerマニアにとっては垂涎のネタ(笑)。
簡単に言うと、上の写真の図の通り、一つの画素の集光用のオンチップマイクロレンズに対して、フォトダイオードが左右2分割されており、撮像時には最終的には合算で、AF時には独立に読まれるというもの。

 で、⑥の「撮影画像への悪影響は全く無い」という点。
これは本当に悪影響が無いのか?(例えば通常に作った画素に対して感度低下はしないのか?とか)という点に関しては疑問が残ります。
が、今までのキヤノンや他社含めた撮像面位相差AFの場合の”位相差AF専用画素が散りばめられており、それを傷画素として扱い補正する(または傷画素扱いにはしなかったとしても、何等かの感度補正のようなものを事後で加える)”方式に対して、”どの画素も均質(同じ構造)で、常に同じ場所に傷画素を作りこむことが無い”という点で、確かに悪影響は無いと言っても良いのかもしれません。

 ただ気になったのは、冒頭の発表会の際にキヤノンの真栄田さんという方が、上記「撮影画像へのマイナスの影響は全く無い」と言い切った根拠となっている以下前文
「デュアルピクセルCMOS AFは、模式図を見ると1つの画素を物理的に分割しているように見えるが、実際には左右のフォトダイオード間に溝や壁があるわけではない。」

 「いやいやじゃあ一体どうやって二つのフォトダイオードにしてるのよ?」
探してみました、特許。

(余談ですが、今回それらしいのを探すのは本当に大変でした。”(撮)像面位相差”←この単語でひっかかるキヤノンの特許はほぼ皆無。まさかと思って”Dual Pixel CMOS AF”で引っ掛けてみましたがこれも0。←やっぱこれは登録商標みたいなもんで、純粋な技術の名前じゃないですよね(^^;)。その後、位相差AF&撮像素子、位相差&光電変換素子・・・等やってみましたが、今度は大量に出てきて、その多くは従来の位相差AF専用素子を念頭に置いたものや、純粋に素子自体のことではなく、素子から出力されてくる信号の処理方法やアルゴリズムに関する件、また、キヤノンの従来のハイブリッドCMOS AFの件がひっかかってきて・・・
 最終的には、年代の新しいものから第一図面だけざっと目を通しながら1件見つけ、しかし、その特許は既に原理的なものではなさそうだったので、その特許の従来例に引かれていた特許にたどり着き・・・それが以下)

特開2001-250931

意外と古い” が私の第一感。
クレームの趣旨は
 【請求項1】N個の隣接した画素を一つの集合とし、同一集合にある画素の間の分離領域を遮光することなく、異なる集合の間は遮光する
 【請求項2】同一集合の画素の上にあるマイクロレンズは一つ
 【請求項4】同一集合にある画素間の分離領域には、素子が配置されていない
 【請求項5】同一集合にある画素の信号を、それぞれ独立に読み出す手段及び全て加算して読み出す手段を有する
本当にこの特許の通り今回のキヤノンの撮像素子が作られているか?、年代も古いしで不安ではありますが、請求項1のNをN=2とすれば、(公式発表の上図断面模式図が本当であれば、)今回の素子に全て該当しそうです。
 まあ正解はまたカメラが発売されればchipworksが解答を出してくれるでしょう。ただし、お金を出さずに見れる範囲で”物理的な壁や溝の有無がわかる”ような結果を開示してくれるかはわかりませんが(^^;)

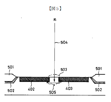
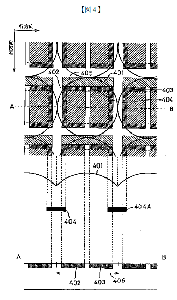
ce47877d.png

←N=2の実施例。404が遮光膜。401のマイクロレンズ一つに対して402と403が”同じ集合に属する画素”。
405が、この画素信号の読み出し等に必要な”素子”の配置領域。請求項4で”同一集合の画素間の分離領域には素子が配置されない”ので、それ以外の場所に配置されているという主張。

 「まあまあ確かにフォトダイオード間に物理的な”遮光”は無いみたいだな。これで微細画素が二つただ並んだだけじゃないことはわかった。でもフォトダイオード間に素子分離はあるみたいじゃないか?壁や溝はあるんじゃ?」



e85a8e82.png









←クレームでは明示されていなかったようだが、同一集合内の画素断面図。
実施例では、同一集合内でない画素間の分離はLOCOS(この場合501)。同一集合内の画素間の分離505は、フォトダイオード402及び403と反対導電型の不純物によるPN接合によって分離されるとなっている。
そしてこの実施例の上記説明の後に”感度低下に関する疑問”に対する答えが・・・
「素子間503に入った光によって励起された電荷のほとんどは、基板内の拡散によって受光部402、もしくは403に捉えられる。」
 つまり、LOCOS等の素子分離で画素間を仕切ってしまうと、そこに当たった光はロスして感度低下を起こしてしまうが、このようにPN接合分離にすれば感度低下のロスはほとんど無いというのです。
また、その少し後に
「一旦、どちらかの受光部に入った電荷は、素子間領域503で形成されるポテンシャル障壁に阻まれ、他方の受光部に入ることができない。このようにして、電気的な分離が実現されている。」
 これは今回の位相差AFの肝”左右のフォトダイオードが独立して電荷を貯めることが可能”ということを説明しているに等しいと思われます。つまり、AF画素として、一旦左右どちらかに取り込まれた電荷がその後自由にフォトダイオード間を行き来できてしまったとしたら、それはフォトダイオードが二つに分かれている意味が全く無いということであり、撮像素子としては機能してもAF用画素としては機能出来なくなってしまうからです。



55716e99.png←特許明細書の最後の方に、N=4の場合の例が載せられていました。
デジカメwatchの70D発表会の記事では「今回のデュアルピクセルCMOS AFは位相差AFセンサーのピクセルが左右に並んでいるため、“縦線検出”は可能だが“横線検出”はできない。

となっています。
が、この例示通り仮に作れたら、上記で言う”横線検出”も可能になると言う事です。
まあ今回は読み出し回路規模の増大とか、恐らくそういったデメリットで採用しなかったのでしょうが、もし市場の強い要請があったならば、何年か後にこの4分割画素がでてくるかもしれませんね。



PR

コメント

お名前
タイトル
文字色
メールアドレス
URL
コメント
パスワード Vodafone絵文字 i-mode絵文字 Ezweb絵文字

AFの仕組み

輝点を撮影する場合を例にすると、ペアをつくるピクセル間の比較で、前ピンでは輝度中心側のピクセルのシグナルが強く、後ピンでは遠心側が強くなります。ジャストではもちろん同じです。ひとつのピクセルペアだけでは前と後ろの区別がつきませんが、シグナルの変化をベクトルとして画像上に示すと、輝点の中心に向かうか中心から出ていく流れが現れます。さらに、ピントが合っているほどベクトルの大きさ変化が激しくなりますので、それを利用してデフォーカス量が計算できるでしょう。
まぁ、すべて想像なので、間違っていたらごめんなさい。

Re:AFの仕組み

>hi-lowさん
imager-maniaです。
AFのご教示ありがとうございます。
これはいわゆる像面位相差AF素子だけでなく、通常の焦点検出専用のAF素子でも同じなのでしょうか?
 さておき、興味が出てきましたので、キヤノンの特許を調べてみました。
が、今回発表された像面位相差方式と直接絡めたAFアルゴリズムの内容のものをすぐに見つけることはできませんでした(--;)
もしかしたら出願されていてもまだ公開されていないのかもしれません。
 今後、どうも撮像素子にとってAF内蔵(?)は必須機能になっていきそうな気配なのでAFの仕組みも勉強していきたいと思います。
と言う訳で今後もよろしくお願いします。

  • imagerマニア
  • 2013/07/14(Sun.)

Re: Re: AFの仕組み

> imagerマニア さん
通常の位相差検出ユニットでは、レンズ中心部からの光束を遮光した上で、収束レンズとセパレータレンズを使って左右あるいは上下の光束を確実に分離し、ラインセンサーに投影しているはずです。ラインセンサーの中央に遮光板を立てると、輝点の焦点が後ピンの場合は、遮光板に近い位置の左右それぞれに輝度の山ができ、前ピンの場合は遠い位置に山ができるか遮光されます。
キヤノンの撮像面位相差法では、マイクロレンズが集光レンズになりますが、セパレータレンズと遮光板を使えないので、画像の比較になり演算処理がかなり重いと思います。ニコン1のセンサーでは位相差検出用PD列で遮光を行い、通常の位相差検出に近いアルゴリズムで焦点位置を算出していると思います。

Re:Re: Re: AFの仕組み

>hi-lowさん
回答ありがとうございます。
通常のAFユニットのことは、説明頂いた内容と同じ内容と思われることが今月発売の「CAPA」(←カメラ雑誌)にも写真入りで載っていました。ご説明頂いた内容と合わせてなんとなく理解した気分になった次第(^^;)
 Nikon1の情報もありがとうございます。こちらの方はいまひとつまだ??な感じ(^^;)(PD列で遮光を行うとは?)ですので、また暇があったら特許でも漁ってみることにしたいと思います。
ありがとうございました。
ps もし差し支えなければ・・・hi-lowさんのご専門は何になるのですか?imagerとは無関係でしょうか?

  • imagerマニア
  • 2013/07/23(Tue.)

Re: Re: Re: Re: AFの仕組み

> imagerマニア さん
ニコン1のセンサーについては、位相差検出用PDでは何らかの遮光を行っているかも知れないと書こうとしたのですが、言葉足らずになっていました。混乱させて申し訳ありません。

私は、残念ながらimager屋ではありません。仕事で光学顕微鏡や電子顕微鏡を使った試料の観察を行っているのですが、光学系やセンサーの仕組みを知らないと結果を正しく評価出来ないので、必要な知識を集めていたらいつの間にかほどほどに詳しくなっていました…。

Canon "Dual Pixel CMOS AF"

「左右のフォトダイオード間に溝や壁があるわけではない。」と明言しているのでそれを信じると、レンズの左側から来た光と右側から来た光はかなり混じってしまうはずで、左右の光の差分からAFを行う原理からすると、あえて不利な構造を取っていることになります。それでもきちんとAF動作を行える自信が有ると言うことですね。カメラメーカーの中ではキヤノンが一番ソフトウェアが強い印象があります。
imagerマニア さんの仰る通り、「キヤノンの今までのハイブリッドCMOS AFよりは速い」けど爆速ではないと言うのは、いくつかの動画を見た限りではその通りでしょうが、画質を犠牲にしないというポリシーは良いと思います。実際には、PN接合による分離がある以上、犠牲がゼロではないでしょうが。
これまでAL配線での遮光を使ったAF画素ばかりだったのが、全く新しい構造が出てきたわけで、どういう性能になるのか楽しみです。このカメラ自体は高そうですが、この技術が低価格機まで展開されるのか興味があります。

Re:Canon "Dual Pixel CMOS AF"

>hmbさん
お久しぶりです。imagerマニアです。
その節は有益な情報ありがとうございました。

>画質を犠牲にしないというポリシーは良いと思います。
私もその様に思います。万が一にも子供のアップ画像の瞳にセンサ起因の傷行などを見つけてしまったら平静ではいられません。あってはならないことです(^^;)

>これまでAL配線での遮光を使ったAF画素ばかりだったのが、
やはりNikon、ソニー、富士の像面位相差AFはAL配線での遮光なのでしょうか。
だとしたら、このキヤノンの方式は方式としては間違いなく画期的ですね。
後は
>どういう性能になるのか楽しみです。
まさしくそこが楽しみなところになってきます!(^^)

  • imagerマニア
  • 2013/07/30(Tue.)

70Dのスチル画像

様々な所で70Dの実写サンプル画像が公開されていますが、デジカメWatchで最近公開された画像に、とても興味深いものがあります。
http://dc.watch.impress.co.jp/img/dcw/docs/613/866/html/022.jpg.html

右下のガラスに貼られた数字を見ると、並んでいるはずなのに赤だけフォーカスが合っていないように見えます。画像を色分解すると、赤チャネルでエッジが検出できず、単純な画素補完になってしまったことがわかります。青チャネルでも、輝度が低い部分は同様なことが起きています。

70Dでは、Dual CMOS AFの為にOLPFの効果を弱めているのかもしれませんね。そのため、純度の高い赤や青の分解能が落ちているのでしょう。

これは水平色分離センサーの原理的な欠点でもありますので、ますます垂直色分離センサーのカメラが欲しくなります。

OLPFと分解能の関係について

初めまして。横から失礼いたします。このブログ、最近の楽しみのひとつになっております。

私は大昔(年寄りなもので ^^;)広告代理店でカメラマンをしていたこともあり、写真の出来具合には関心を持っています。かつての会社ではハッセルを主としてニコンやキヤノンなどを使い、いまでは趣味でニコン、キヤノン、ペンタ、ソニー、オリンパスのデジタル一眼レフを持っています。

いままで知りたいなと思っていたことがこのコメント欄でhi-lowさんによって出てきたので、よろしければ教えていただけないでしょうか。その当該部分ですが、以下の箇所です。

「OLPFの効果を弱めているのかもしれませんね。そのため、純度の高い赤や青の分解能が落ちているのでしょう。」

最近のデジタルカメラは、一様に赤の処理に苦しんでいるように見えます。ここでは話題が70Dについての話になっていますが、いま私が主として使っているペンタのK-5の場合でも、赤い花を撮ると見たような色が出ず、かつ、赤い花の部分だけピントが来ているんだか来ていないんだか分からない絵になります。キヤノンの7Dではそこまでひどくないのですが、やはり少し甘い絵になります。ソニーのα55では、ちょっと人工物っぽくなったり、、、(最近、ニコンとオリンパスはあまり使わなくなりましたのでこれといった印象が、、、)

たぶん、その答えが先ほどのOLPFの効果と色の分解能の関係の中にありそうなので、どういう関係があるのかを知りたいのです。OLPFの効果を弱めたり外したりすることが、なぜ赤の表現にこれほどまでに影響するのか。

当方、コンピューターについてもそれなりの知識はあると思うので、専門用語をバシバシ使っていただいてかまいませんので、ぜひお願いいたします。このブログの主旨からは少し外れるかもしれませんが、知りたいです、、、/(^^;

Re:OLPFと分解能の関係について

>toshiさん
imagerマニアです。

>初めまして。横から失礼いたします。このブログ、最近の楽しみのひとつになっております。
 こちらこそ初めまして。
楽しみにしていただいているということで、物好きでやっていることとはいえ励み(?)になります。
また、元プロカメラマンとのことで、私には異世界でかつ雲上の方なので、コメント頂けるとどういう観点でカメラやセンサ(撮像素子)を見ておられるのかわかって嬉しいです。

 今回のコメントの件も、hi-lowさんとtoshiさんは「赤のピント(輪郭?)が甘い」との共通認識を持たれているとのことですが、私は正直今までその様に感じたことがなく、見る目が甘いですね(^^;)
 ただ、そんな私でも、シグマのFOVEONセンサ搭載機の写真を見ると「やはり1画素で3色解像しているセンサの絵は何かが違う」とか感じてしまいます(先入観で暗示にかかっているだけの危険はありますが(^^;))ので、垂直方向で3原色受光する素子の必要性に異議はありません。

 ともあれ、ここで今回の様にコメントくだされば、私がわからなくても今回の様に(hi-liwさんの様に)他の方が答えてくださるかもしれませんので、今後ともドシドシコメントください。
私はblogエントリの更新頻度を下げないことの方にエネルギーを費やすことにしたいと思います(笑)
今後ともよろしくお願いします。

ps 私はフィルムカメラは”写るんです”しか使ったことが無い者です。ハッセル(ブラッド)などは何かの展示会の折にケースの中で陳列されているのを見ることがあるくらいで、何かもはや同じカメラという感覚が持てません(笑)
でも、ハッセルブラッド等も含め、カメラを複数台所有するという生活には(私には使い分ける意味が無いにも関わらず)何故か憧れてしまいます(^^;)

 一つ逆に質問良いでしょうか?
このEOS 70Dを筆頭に、最近の一眼レフやミラーレス機は動画撮影機能を磨いてきていますが、toshiさんは既に使用していたり、または使っていなくても今後「使ってみよう」とか考えたりされるものですか?
 またミラーレス機にはご興味があったりされるものでしょうか?(←つまりOVFではなくEVFかもしくは背面液晶での撮影という形態をどう思われますか?)
 差し支えない範囲で教えていただければ幸いです。
ちなみに私は一眼レフの入門機を使用しています。が、背面液晶での撮影や動画撮影は今のところ(←食わず嫌いなだけですが)使っていません。

  • imagerマニア
  • 2013/09/14(Sat.)

OLPFと分解能

> toshi さん
 OLPFは色の再現性を上げるために、点光源をあえてベイヤー配列1セット分の大きさにぼかしています。そのため、RGBで分解能に差がほとんどありません。しかし、せっかくのレンズの分解能が失われるため、最近はOLPFを弱めたり除くようになってきました。このような状態でRとBは、Gと比較して半分ほどの分解能しかありません。
 つまり、OLPFが無いと色によるセンサーの分解能の違いが露わになってしまうのです。70Dの画像を見る限り、まずGで輪郭を作り、そこにRとBの情報を加えて色を再現することで、分解能の違いを補完しているようです。自然物の色は多くの場合でGを含んでいるので、この方法で問題ありません。しかし、RやBの純色の場合は、参照するGが無いため素の分解能になり、色によって分解能が異なるおかしな画像になってしまいます。

Re:OLPFと分解能

>hi-lowさん
 imagerマニアです。

>70Dの画像を見る限り、まずGで輪郭を作り、そこにRとBの情報を加えて色を再現することで、分解能の違いを補完しているようです。
 この様なアルゴリズムな可能性があるのですね。
知りませんでした。

 更に一つ下でコメントされている様に、Gフィルタ透過したRとBの成分をうまく使った補正というのも可能なのでしょうか?
純粋にはGフィルタを透過した光はどの波長成分であれ、センサ的には”Green”(の光強度という単一のデータ)としてしか認識されないはずですが、周囲の実際のRBフィルタ画素の出力から勘案して「G画素にどれだけRとBよりの光が入ってきているのか?」というのを予測計算するような手法を取るということになるのでしょうか?

>> toshi さん
> OLPFは色の再現性を上げるために、点光源をあえてベイヤー配列1セット分の大きさにぼかしています。そのため、RGBで分解能に差がほとんどありません。しかし、せっかくのレンズの分解能が失われるため、最近はOLPFを弱めたり除くようになってきました。このような状態でRとBは、Gと比較して半分ほどの分解能しかありません。
> つまり、OLPFが無いと色によるセンサーの分解能の違いが露わになってしまうのです。70Dの画像を見る限り、まずGで輪郭を作り、そこにRとBの情報を加えて色を再現することで、分解能の違いを補完しているようです。自然物の色は多くの場合でGを含んでいるので、この方法で問題ありません。しかし、RやBの純色の場合は、参照するGが無いため素の分解能になり、色によって分解能が異なるおかしな画像になってしまいます。

  • imagerマニア
  • 2013/09/14(Sat.)

Re:OLPFと分解能

hi-lowさま、お返事ありがとうございます。

なるほど。とてもよく分かりました。

でもそういうことになると、より高性能のレンズを使えば使うほど(現状の水平色分離センサーにおいては)こうした傾向が顕著になるということでもありますね。悩ましいです。^^;

Re: Re:OLPFと分解能

> toshi さん
追記です。
Gカラーフィルターの分光範囲は、色の再現性を上げるためにRとBにも一部が重なっています。その特性をRやBの分解能補完にも使えるはずなので、OLPFレスが一般的になるまでに、カメラメーカーはjpeg画像の分解能を全ての色で揃えてくるでしょう。今は過渡期だと思います。

Re: Re: Re:OLPFと分解能

hi-lowさま

toshiです。ご丁寧な補足をありがとうございます。(^^)

カラーフィルターにおける分光ですが、スペクトル特性とかも含めてこれからもっと研究されるのでしょうね。色再現範囲を広げたいのであればフィルター色を濃くするのでしょうが、そうすると透過率が落ちますから、その落としどころとかなかなか難しい部分がありそうです。また、従来とは違う配色を使ったりすると画像処理のアルゴリズムも変更しなくてはならないでしょうし、すぐにどうにかなるという感じではないと私も思います。

いまは過渡期だというのに私も賛成です。

悩ましいのは、最近の流行が「シャープであること」であり、写真としてのまとまりや表現力といった点がおざなりにされているように感じる点です(誰にでもわかる訴求点というのは利用しやすいですから)。OLPFレスはマーケティング的には成功なのでしょうが、これまで使ってみた感触はイマイチです。でも、そういうカメラがどんどん幅をきかせているんですよね、、、(^^;

個人的にも、垂直色分離センサーがもっと出てきて欲しいですね。どのくらい違うのかも含めて、興味津々です。(^^)

Re: Re: OLPFと分解能 > imagerマニア さん

フィルターの分光特性が分かっていれば、隣り合ったG画素とRあるいはB画素の強度を参照して、デコンボリューションでG画素へ入射したRやBの強度を推定することは可能かなと思います。逆に、RやB画素に入射したGの強度も推定可能でしょう。
アドビのACRは既に行っていそうですが…。

Re: Re: OLPFと分解能 > imagerマニア さん 追記

追記
カラーフィルター分光特性の例です。
http://www.bitran.co.jp/ccd/images/product/characteristic/ICX415AQ.gif

Re: Re: Re: OLPFと分解能 > imagerマニア さん

久しぶりに見ましたら、コメントが伸びていました。^^;

すみません。またもや素人質問になってしまうのですが、デコンボリューションを行うためには、どちらかというとレンズ側の影響が大きいのではないのでしょうか? 私の認識では、デコンボリューションとは集光面での集光結果がレンズの回折などによって元になる撮影対象とは同じにならず、ぼけてしまったり歪んでしまうのをできるだけ元に戻そうという話なので、hi-lowさんの説明に少し違和感を感じました。

その点以外のおっしゃっていることはもっともで、確かに推定可能だと思います。ただし、前述のようにレンズ交換式カメラではそこで使用されるレンズ自体の特性がさまざまですし、最近の多画素センサーではデコンボリューション自体がかなり重い処理になると思いますのであまり現実的ではないような気がします、、、

これもついでの余談なのですが、たとえば超解像技術を採用したというカメラでその機能を使ってみると、まれに「あれっ、こんなところに線なんてあったっけ?」という実際とは異なる画像が出力されます。ある点やある面から周囲などを推定していくという技術の進歩には目を見張るものがありますが、そういうものをいくつも目にしてしまうと「これは、写真なのだろうか?」と悩んでしまったりもします。

頭の古い年寄りとしては、一般ユーザーには実際にはたいして役に立たない高画素化よりも、きちんとした再現性の実現や豊潤な色を出せるようにしていただけるとありがたいと思います。あくまでも個人的な意見ですが、、、

Re: Re: Re: OLPFと分解能 > imagerマニア さん > toshi さん

> toshi さん

ここでのデコンボリューションは、入射光スペクトルを推定するための演算です。
各カラーフィルターの分光にオーバーラップがあり、各フィルターの分光曲線が分かっていれば、隣接した画素のシグナル強度から、各画素に入射した光のRGB強度をデコンボリューションで推定することが出来ます。色の推定精度が上がるでしょうから、解像度は変わらないでしょうが解像感は改善すると思います。

デコンボリューション演算を行う超解像は、おっしゃられるようにレンズの光学性能情報を利用して失われた情報を推測します。しかし、参照画像が一枚だけの場合は、本来は一つのものを複数に解像してしまう危険性が常にあり、toshiさんが指摘された現象を覚悟する必要があります。

ベイヤー配列の一般的(基礎的)なデモザイクアルゴリズムは、各色のローパスフィルター演算による補完画像の重ね合わせのため、分解能は低下していきます。アルゴリズムは現在も研究・開発が続いていますので、垂直分光センサーに匹敵するような解像感が得られるアルゴリズムが出現するかもしれません。

Re: Re: Re: OLPFと分解能 > imagerマニア さん > toshi さん

hi-lowさま

toshiです。ご丁寧な説明、ありがとうございます。
本当に勉強になります。(^^)

アルゴリズムの進歩には大いに期待したいです。コンデジあたりはスマホに食われつつありますが、一眼レフや一部のミラーレスはきちんと利益を出していると思いますから、いまのうちに研究開発などへの投資をどんどん行っていいものを作っていただきたいな、と思っています。各メーカーには頑張ってほしいですね。

色解像度

今更のコメントで恐縮ですけど、赤色の解像度が低いというのをBayer配列のせいにしてしまっていいのか、というのはちょっと疑問があります。

というのも、一般的にはJPEGにする時点でYCrCbの4:2:2とか4:2:0に間引いてしまうので、そもそも一般的なJPEG画像においては色の解像度は輝度より低くなっています。
例の作例をよく見ると、問題の赤い文字も横方向は1ピクセル精度で解像しているように見えますけど、ファイルを調べてみるとYCrCbの4:2:2(の90度回転)ですから横方向より縦方向の色解像度は低いはず、という理屈と一致します。
ですからBayer配列に起因するものではなく、JPEG圧縮に起因するものだと考えた方が自然な気がします。

Re:色解像度

>FTさん
お久しぶりです。imagerマニアです。

正直この会話の流れで私はほとんど無視されたに等しいので(^^;)出る幕は無いのですが、恐らく管理人で無い限りは追加でコメントがついたことに気づけないので、でしゃばらせて頂きます。
本当はhi-lowさんが出てきて頂ければ良いのでしょうが・・・

>赤色の解像度が低いというのをBayer配列のせいにしてしまっていいのか、というのはちょっと疑問があります。
 私では議論にならないかもしれませんが、正直なところ本音では私はFTさんが考察された内容を押したいです。
私自信はくだんのjpeg画像を色分離して観察していないので気づきもしませんでしたが、事実上の横方向のみ解像度が劣っているというのであれば、FTさんおっしゃるようにjpg圧縮時の4:2:0(←JPG規格?は4:2:0でしたでしょうか?)への間引きに起因する と考える方が単純で自然だと思います。
ローパスフィルタ(を弱めた)せいであれば、縦横関係なくエッジが甘くなるはずですから。

本当は本件の画像のraw画像があれば追加検証可能なのでしょうが、残念ながらなさそうですね。

本件と関係ありませんが、今後とも積極的にコメント頂けるとblog続ける張り合いも出ますので、気軽にご意見お願いします!

  • imagerマニア
  • 2013/10/28(Mon.)

Re: 色解像度

> FTさん

jpegの色圧縮は考えていませんでした。
適当な被写体を見つけたら、rawデータから非圧縮tiffとjpegを作って比較したいと思います。ショーウィンドーが良さそうですが、街角のスナップは苦手なんですよね…。

imagerマニアさんへ

imagerマニアさん

> 正直この会話の流れで私はほとんど無視されたに等しいので(^^;)

ごめんなさい。見落としておりました、、、(^^;

>  一つ逆に質問良いでしょうか?
> このEOS 70Dを筆頭に、最近の一眼レフやミラーレス機は動画撮影機能を磨いてきていますが、toshiさんは既に使用していたり、または使っていなくても今後「使ってみよう」とか考えたりされるものですか?

自己紹介で簡単に書きましたが、途中からコンピューターやインターネットの世界に転身してしまったので、もはやカメラではメシを食べていません。(^^;

で、まだ現役の知人の話からは、いまではEOSがずいぶんと使われていると見ることができます。試しに使ってみようというレベルではなく、すでに仕事でバリバリ使われているということですね。

昔の仕事柄、街頭ロケを見るとそこにいる人より「どんな機材を使っているのかな」というほうが気になったりしますが、意外とEOSは多いと感じます。最近では、ビデオシステムとしてREDも多くなったそうで、結局のところは撮れる絵に大差が無ければシステムとして安上がりのほうに傾くということなのかなと勝手に思っております。昔ほど潤沢な予算が付かないということも影響しているのでしょう、、、

ちなみに、EOSが多いのは、性能やシステムとして秀でてるということもあるのですが、レンズ操作の方向が同じということもあるようです。慣れである程度は解決できるかもしれませんが、とっさのときには間違えますしね。

>  またミラーレス機にはご興味があったりされるものでしょうか?(←つまりOVFではなくEVFかもしくは背面液晶での撮影という形態をどう思われますか?)
>  差し支えない範囲で教えていただければ幸いです。

どちらも使っていますので、撮影に応じて使い分けます。これは、他の人も同じでしょう。

個人的な見解として述べれば、長時間カメラを使うときにはOVFのほうが好ましいです。EVFはどうしても輝度があるので、長時間覗いていると眼が疲労しやすく感じます。コンピューターの世界では、LED光源が眼に与える影響が無視できなくなってきていて、それを理由にPC用の(特定の波長をカットする)メガネをかけて自己防衛する人が増えていますが、似たような原因があるのかもしれません。

短時間、もしくは、たまにカメラをかまえるような使い方ではどうということはありませんが、やはり仕事で長時間使うというときにはEVFはまだきついかなぁ、、、

また、たとえばですけれど、撮影の際に遠近の両方を追う形であっても実際には眼のフォーカスはファインダーのスクリーン面に常に固定されているので、長時間見ていると眼の筋肉が固着してきます。これも疲れの原因になるのですが、どちらかというと明るさの影響のほうが大きいかも。OVFは、その環境下の明るさとファインダーの明るさに大差がないのに対してEVFは明らかに違うことが多いですから、眼がその都度光量調節することになるとかいうのも考えられます。

正直、現存するEVFで「これだ」というのにはまだお目にかかっていません……。(^^;

> ちなみに私は一眼レフの入門機を使用しています。が、背面液晶での撮影や動画撮影は今のところ(←食わず嫌いなだけですが)使っていません。

食わず嫌いをやめて、使ってみるといいと思います。背面液晶での撮影は、ライブビュー撮影など状況によってはファインダーよりも便利ですし、動画についても(その動画撮影の性能にもよりますが)意外と使えますよ。

Re:imagerマニアさんへ

>toshiさん
imagerマニアです。

>ごめんなさい。見落としておりました、、、(^^;
すみません。気を使わせてしまいまして。
特に深い意味があったコメントではないので気にされないで下さい。でも一杯のコメント返信ありがとうございます。

ぜんぜん別件なのですが、皆さんどうして最新エントリでないところにコメントが新たについたことがわかるのですか?
私はサイトの管理人(?何も管理はしていませんが(^^;)ということで、コメントつくとメールがくるのですが・・・)

>レンズ操作の方向が同じということもあるようです。慣れである程度は解決できるかもしれませんが、とっさのときには間違えますしね。
 ビデオαとかwebサイトの記事は読むのですが、EOSが使われる理由として、”レンズの操作方向”の観点で述べられている記事は見たことが無いですね。
やっぱり生の情報は違います。盲点ですね。ありがとうございます。

>正直、現存するEVFで「これだ」というのにはまだお目にかかっていません……。(^^;
 EVFに関してもご丁寧に多くの見解ありがとうございます。
また、”食わず嫌いはやめて使ってみるべし”のアドバイスもごもっともで、堅い頭をやわらかくしたいと思います(^^;)

 レベルは違うと思うのですが、僭越ながら上記見解は私も全く同じです。
体験会等で発売前に評判の高そうなオリンパスのEM-1やα7のEVFを覗いてみたのですが、やはりしっくりきませんでした。

 話が少し回り道になるのですが、基本的に私は持ち運びが苦にならない軽量なカメラが欲しいと思うのですが、でもレンズ交換式は譲れないので現状はミラーレスを選びたくなります。
が、EM-5などの割とハイエンドなミラーレスでも特にボタンなどは小さすぎて押す気にならなくなります。軽量=小型なのでは無いのだよという理屈を理解してもらえるでしょうか?(^^;)
(つまり軽量なカメラは欲しいですが、無理に小型でなくても良いのですが・・・)

 そしてこの前、α7を触った時にその操作性と大きさフォルムからくる手のフィット感において私の琴線に触れるカメラだということがわかりました。
 ダイヤルが三つあり、いずれも無理なく回せる配置でISO、シャッタースピード&絞り、露出?を直ぐに変更可能。普通にグリップを握った際に人差し指が無理なく自然にシャッタの位置にくる感じ。
 しかし、シャッターボタンの感触、シャッター音のしょぼいメカの感覚、早くは無いAF・・・このあたりが私にとってマイナスな印象でした。
そしてEVF・・・ やはりOVFがいいなと思う次第です(^^;)

 そして画質・・・
>自分で自分の写真を撮るというときのカメラ選びには、スペックはあまりアテにしないですね。DxOMarkとかの数字をアテにする人もいますが、実際に撮れる写真を見るとその数字が写りとリンクしているようには思えないですし。
 DxOMarkとかの数字、アテにならないとの指摘同感です。
α7はソニー製2400万画素センサなので、過去の数字から推測すると恐らくDxOmarkで高得点をマークすると思うのですが、
http://masters.galleries.dpreview.com.s3.amazonaws.com/2737803.jpg?AWSAccessKeyId=14Y3MT0G2J4Y72K3ZXR2&Expires=1383220683&Signature=6%2bGRbNXOVuujssjnceI97FxSnxI%3d
↑ISO100でも暗部の不自然なザラザラ感。

http://masters.galleries.dpreview.com.s3.amazonaws.com/2737782.jpg?AWSAccessKeyId=14Y3MT0G2J4Y72K3ZXR2&Expires=1383227154&Signature=xyndntYcjrNv9toyikeAvI9IlaI%3d
↑ISO2500で十分光が回っているのにも関わらず、ボケてる箇所の油絵的な不自然な描写・・・

ソニーの絵は前からこうだと思うのですが、私は好きにはなれず、これではフルサイズ素子のカメラを買うメリットが無いなと(--;) ←raw画像がどうなのかは少し気になりますが

 手前味噌なことを長々と書いてしまいまして申し訳ありません。
完全に愚痴になっちゃいました。
今後ともよろしくお願いします。

  • imagerマニア
  • 2013/10/31(Thu.)

imagerマニアさんへ (追記)

先のコメントでいくつか答えていなかったので、追記です。(^^;

写真を撮る際には、ハイアマ以上の場合は多くの人が色彩などのパラメータを自分の好みになるように調整します。その過程で、EVFや背面液晶などでの見え方と実際に撮れる写真の差を覚えますから、よほどひどいEVFや液晶でなければ「そういうもの」として見ます。文句は言いますけど。(苦笑)

正直、昔はクライアントに合わせて(たまに、うるさい人がいるのです)カメラを選んだりしてましたから、これじゃなきゃいけないという感覚は希薄です。自分で自分の写真を撮るというときのカメラ選びには、スペックはあまりアテにしないですね。DxOMarkとかの数字をアテにする人もいますが、実際に撮れる写真を見るとその数字が写りとリンクしているようには思えないですし。

結局は、使いやすいか(自分の撮影スタイルに合っているか、操作系は自分の好みか、手に合っているかなど)ということと、撮れた写真が好みかどうかということに重点を置くべきなので。

その意味では、質問の一部にあった点、ミラーレスにはまだ興味が持てません。性能的には十分だと思いますし良いものも出てきてはいますが、シングルセンサーに機能を詰め込んでいくというのが琴線に触れないんですよね。どこかに無理がかかるんじゃないか。そう思えちゃうからなんですよ。

追記の追記ですが、ミラーレスは長く構えていると明らかにセンサーがあるあたりの背面が熱を帯びてくるのがわかります。それが「無理がかかる」の根拠ですが、センサーにとって熱は大敵なので、常に撮像センサーを駆動してしまう方式にはまだ好意的にはなれません。

ミラーレスという分類には異議がある方もいらっしゃると思いますが、割とよく使うα55とかだと、夏の屋外とかで持っていたくないぐらい熱くなることがあります(EVFのためだけでなく、センサーシフト方式の問題点でもありますね)。EOS 7Dだとバッテリー交換無しで2000枚近く撮ったこともありますが、α55だと新しいバッテリーでも2時間持たなかったことも。正直、短すぎます、、、(^^;

続?色解像度

えーっと、まずはお詫びと訂正を、先のコメント、YCbCrがYCrCbになってますね(意味は通じるとは思いますが…)

>imagerマニアさん

JPEGの規格上は一般的に使われる4:4:4、4:2:2、4:2:0はいずれも選択できるはずです。
しかし手元にある撮影画像(10機種分くらい)を調べてみるとほとんどが4:2:2(一部4:2:0)だったので、少なくともデジカメでは横方向だけ間引く4:2:2が一般的のようです。

では色情報を間引かず4:4:4で出力するカメラはないのか、と思ってネット上の作例を探してみたんですが、残念ながらFoveonのシグマでも本体のJPEGは4:2:2のようで…(さすがにRAWから現像すれば4:4:4で出力されるようですが)

> 私自信はくだんのjpeg画像を色分離して観察していないので気づきもしませんでしたが

正直わたしも最初は“へー、そんなこともあるのか”くらいに思いながら見ていたんですけど、見ている内にこれはちょっと変ではないかと思い始めまして……
しかし、多くのメーカは4:2:2で実用上問題ないと思って採用しているんでしょうけど、色を間引いた影響がこれほど顕著に表れてしまうとちょっとうーんと思ってしまいます。

>hi-lowさん

RAWから現像する場合、ソフトによってはJPEGでも色を間引かず出力するので(Lightroom等)、そういうソフトだとTIFFと比べても差は付かないかもしれません。

Re:続?色解像度

>FTさん
imagerマニアです。

>JPEGの規格上は一般的に使われる4:4:4、4:2:2、4:2:0はいずれも選択できるはずです。
 そうなんですね。ご教示ありがとうございます。
そう言われてみれば、規格を作る側の立場からすれば、jpegを「この画総数であれば○MB以下にしなければならない」という縛りを入れる必要は無いはずなので、そんな情報の間引き方(?)まで規定する必要はなさそうですよね(^^;)
 逆に言うと、もしかして4:4:4が存在しないというのは、もしかすると、jpegな癖にファイルサイズが馬鹿でかいままになってしまったりするからというのも考えられるのでしょうか?←つまりカメラのバッファサイズが同じだと、連写可能な枚数が減ってしまうからとか。

 ちなみに、
>では色情報を間引かず4:4:4で出力するカメラはないのか、と思ってネット上の作例を探してみ
 ↑画像を見て、どうやったら「この画像は4:2:2だ」とかわかったりするのでしょうか?
(企業秘密であればこのコメント捨て置いていただいて結構です)

  • imagerマニア
  • 2013/11/03(Sun.)

Re:imagerマニアさんへ


imagerマニアさん

お昼休みにつらつらと書きます。長くなりそうですが、、、(^^;

> ぜんぜん別件なのですが、皆さんどうして最新エントリでないところにコメントが新たについたことがわかるのですか?

ページの右側に「最新コメント」というのがあって、5つぐらい更新情報が出ます。それを見ています。;-)

> ビデオαとかwebサイトの記事は読むのですが……

最近では、Handycamとかも普通に使われているようなので、場所によってはレンズ操作の回転方向を気にしない人も増えてるかもしれません。そのへんは、よくわかりません。^^;

> 体験会等で発売前に評判の高そうなオリンパスのEM-1やα7のEVFを覗いてみたのですが、やはりしっくりきませんでした。

EVFって、結局は小型の液晶モニターみたいなもんですよね。どんなに頑張っても、仕組みとして「自然に見える」ということにはならないと思います。

> 軽量=小型なのでは無いのだよという理屈を理解してもらえるでしょうか?(^^;)

もちろんです。たとえば、小型化がどんどん進んで米粒みたいな大きさまで小さくできたとして誰が喜ぶんだろうかということですよね。モノには必要とする大きさが必ずあり、その大きさを崩すことは誰の得にもならないと思います。

他でも書きましたが、小型化は日本人に受けが良く、技術的目標として設定しやすいのが問題なのだと思います。日本人がもの作りが下手と言われる一端を見ているような気がしてなりません。(^^;;

> DxOMarkとかの数字、アテにならないとの指摘同感です。

昔から思っているのですが、カメラには二つあると思っています。つまり、写真を撮るための「道具」としてのカメラ。もうひとつは、「所有欲」を満たすカメラ。

私などは仕事でかかわったこともあり、カメラは道具でしかないという感覚が強いのですが、世の中を見渡すと持つことで満足してしまい、滅多にカメラを持ち出さないひとがごまんといます。いろいろなところでスペックを気にする人、スペックを自慢する人は所有欲でカメラを見る傾向があるような気がしますが、そういう人にとっては何かしら明確な差別化ができる数字が出ることが重要なんでしょうね。

買ったカメラを本気で使っているのは、実はママさんを代表とする女性のほうなのではないかと、いつも思います。

> α7はソニー製2400万画素センサなので、過去の数字から推測すると恐らくDxOmarkで高得点をマークすると思うのですが

さっそく出ましたね。(笑)

これだけ迅速だと、DxOmarkのスポンサーであるソニーとかニコンには特別な配慮があるのではないかと穿った見方もできてしまいそうです。そんなことは無いと信じてますが。(苦笑)

http://www.dxomark.com/Reviews/Sony-Alpha-7R-review-Highest-ever-full-frame-image-quality/Sony-A7R-sensor-performance

> ソニーの絵は前からこうだと思うのですが

おっしゃる通り、ソニーの絵作りはどこかコンピューターチックですよね。

これも余談ですが、最近では輪郭強調をきちっと行い、面には規則的なパターンもしくはフラットなパターン(ノイズレスな)をきっちりかけるという流れができているような気がします(その最たるものが、超解像技術とかいうやつでしょう)。人間の目は曖昧で、エッジの立った境界線があってもそれをきっちり見ることはできません。その一方で、平面的でフラットに見える面にトーンの違いを見つけたりします。また、微妙な色の違いを見分けるのは女性のほうが得意で、男性はそれが苦手だという論文も見た記憶があります。このような能力は人間が生存をかけて得た能力(女性は食べ物の傷みを目や臭いでみるとか、男性は狩りのために微細な違いよりも動体把握に優先を置いたとか、まぁ、想像ですが)だと思いますが、そういうことを無視して、たぶん、いま現在で一般受けする絵作りをしたほうが得だというメーカーの判断なのでしょう。

で、これは私が勝手に思っていることですが、こういう流れが出来てきたのにはマンガの影響が大きいような気がしています。日本人は、もともと浮世絵のような平面的な絵に抵抗がなく、ひとつの芸術作品として好んでいたという実績があります。そういう下地があるからこそ、初期のマンガのような極端なデフォルメを受け入れ、世界に誇れるような文化に発展することを支える新たな下地を作りえたのだと思います。

で、マンガをあらためて見ると、はっきりとした輪郭、立体感を出すための規則的なトーンなどで構成されています(最近のマンガは、リアリティの演出のためにCGバリバリだったりしますしね)。それが日常に深く入り込んでくると、普段見ているものに対する慣れと同時に、そういうものだという錯覚も生み出しそうです。

いまのカメラの画像処理を見ていると、なんだかマンガの世界(CG)とのシンクロを目指しているんじゃないかと見えて悩ましくてしょうがありません。(^^;

評価はいろいろありますが、NikonのD800Eの写真を見たとき、細かな枝がいっぱい交差している部分のエッジとコントラストがきつくて気分が悪くなりました。解像感が高いと評価する方もいるとは思いますが、何か不自然です。(^^;

Nikonは、D80の頃が一番綺麗な絵を出してたような気がします。マイカメラのひとつとして、いまでも手放してません。(苦笑)

Re:Re:imagerマニアさんへ

>toshiさん
imagerマニアです。
お昼休みを潰させてしまって恐縮です(^^;)

 カメラの大きさの件、理解してもらえて嬉しいです。
重量の方も、プロの方に言わせれば「重たいレンズをつけた時のバランスを考えたらあれではbodyが軽すぎる」となるのだと思いますが、
まあ私などはお手軽望遠ズームレンズは持っていても、本格的な重たい望遠レンズは持っていませんので、やはり重さに関しては正直軽ければ軽い方が良い感じです。←軽量に拘るあまり紙っぺらみたいな質感になってしまってはさすがに嫌ですが(^^;)

>EVFって、結局は小型の液晶モニターみたいなもんですよね。どんなに頑張っても、仕組みとして「自然に見える」ということにはならないと思います。
 確かにおっしゃる通りですね。
まだ日本以外ではミラーレスは存在感は今ひとつな様ですが、そうは言っても長い目で見ればやはり一部のプロ以外はミラーレスを使う世界がくると思いますので、今から慣れておかなくてはなりませんね(--;)

>買ったカメラを本気で使っているのは、実はママさんを代表とする女性のほうなのではないか
ドキっ 耳が痛い・・・f(^^;)

>これだけ迅速だと、DxOmarkのスポンサーであるソニーとかニコンには特別な配慮があるので
 そんなことは無いと思いたいですよねー。
 しかしソニーのカメラがいつもそうかは観察できていませんが、少なくとも今回は”発売前に”DxOmarkが評価している訳ですよね。
 つまりどちらが言い出したかわかりませんが、今回の発売前の評価はソニーから最終製品版のbodyをDxOmarkに恐らくは無償で渡していると思うのです。少なくとも、発売前に評価して数字を公表することはソニー公認のはずです。DxOmark(を評価している会社)側も、どっかから勝手に持ってきた最終製品版かどうかも不明なbodyの結果を更にソニーに無許可で数字を公表などしたらスポンサーを失うので、そんなことは行うはずは無いと思いますので。
 そんな発売前に特別に融通してもらったbodyの評価を行うという状況は、(例え公平に評価していたとしても)良い状況とは思えません。
ここはやはりきっちり、他社のカメラと同様に、市場に出てから店頭で”任意の”個体をDxOmark側が”自腹で”購入し評価すべきと思いますね。
 穿った見方をしてしまえば、今回の場合は、ソニー側が選んだ良い特性の個体をDxOmark側に渡している可能性も否定出来ませんし、極端な話、α7R搭載センサと全く異なる特別にお金をかけた特注センサを積んだカメラを渡していることだって否定は出来なくなってしまいます(←まあ流石にこれは無いと思いますが^^;)


>で、マンガをあらためて見ると、はっきりとした輪郭、立体感を出すための規則的なトーンなどで構成されています
 脱線してしまいますが、私、originalをオンタイムで見ていた世代では無いのですが、
http://yamato2199.net/index_theater.html ←宇宙戦艦ヤマト2199
 おっしゃるのはこんな感じの絵でしょうか?”PV映像”のページに行ったりすると動画も多少見れます。あまりアニメは見ませんが、最近特にこういうツルッっとしたアンドロイドな質感の絵が流行りな気がします。

>それが日常に深く入り込んでくると、普段見ているものに対する慣れと同時に、そういうものだという錯覚も生み出しそうです。
 最初、上記ヤマトを見てツルッとしてヒョロッとしたキャラに”気持ち悪い”と思ってゲンナリしたのですが、残念なことに(?)おっしゃるように序盤で既に私は慣れてしまい、違和感なくなってしまいました(^^;)
正に錯覚恐るべしだと思います。


>Nikonは、D80の頃が一番綺麗な絵を出してたような気がします。マイカメラのひとつとして、いまでも手放してません。(苦笑)
 割とCCD搭載期末期に近い頃のデジタル一眼レフカメラですね。
搭載センサの画素数も10Mpix程度なので、画素ピッチも6um□前後で、かつCCDなのでフォトダイオードの面積も現在最新のAPS-C機と比較すると潤沢な感じ。
低ISO設定時の画質(←S/N)だけ考えれば、少なくともraw画像で比較すれば、現行機種達より良いのではないでしょうか。私はD80を持っていませんが、スペックから予想するとそんな気がします。
↑まあしかし、toshiさんの価値観とはこれまた相容れないスペックおたくな評価基準でしたね。ご容赦を(^^;)

  • imagerマニア
  • 2013/11/03(Sun.)

Re: 続?色分解度

自分では適当なサンプルが撮影できないので、Dpreviewのデータをお借りして検討してみました。リンク先(コメント下の名前をクリックして下さい)をご覧ください。
Rawで既に赤の分解能は悪いようです。

Re:Re: 続?色分解度

>hi-lowさん
imagerマニアです。
興味深い検討ありがとうございます。

Rだけこんなに違う&カメラの機種によってもこんなに違う
ということに驚きました。

 わかったことは以下と言う理解でよいでしょうか。
①少なくとも今回hi-lowさんが行った作業の結果、ほぼRだけ解像感が落ちるのはベイヤ配列によるものではない。←何故ならそれならBも同程度劣化しても良いはずだから

②jpeg圧縮に起因するものでもない。理由は同上(←ただし、各社rawで既に何か小細工をしていない前提)

 ケチをつける訳ではなく、純粋に疑問なのですが、モアレの件、
70DとD7100の差はローパスフィルタの有無で説明がつくと思うのですが、BとRの差は、ベイヤ配列で現像アルゴリズムでRとBを同様に扱うのであれば、モアレも同様になりそうに思ってしまうのですが、その辺どうなんでしょう?
全く門外漢なのですが、デベイヤアルゴリズムの”amaze”というのはRとBを同じ程度の範囲で補完しあうアルゴリズムなのでしょうか?
 例えば、Rの方をより広い範囲の画素からデータを補完しあうようなものであれば、Bに対してRの方がモアレがひどく、解像感が低いことの説明がつくように思うのですが。

  • imagerマニア
  • 2013/11/03(Sun.)

Re: Re: 続?色分解度

hi-lowさん

> Rawで既に赤の分解能は悪いようです。

拝見しました。そして、かなりびっくりしました。^^;
D7100のRは、D70の各色を含めて比べても特に悪いように見えます。

ただ、それが、レンズのせいとも思えません。収差とか、いろいろな要素は考えなければいけませんが、、、

漠然とした記憶で恐縮ですが、デジカメで赤の再現性に疑問を感じ始めたのは高画素化が進んできた頃からです。ただし、前のほうのコメントでも書きましたが、1800万画素のEOS 7Dと1600万画素のK-5では、多くの場合でK-5のほうが再現性が悪いです。個人的に長く使っていたK-100Dではそのようなことは感じませんでしたし、同じレンズをK-5で使っても赤の再現性が悪くなる傾向ははっきりと出てました。

最初は、画素ピッチが細かくなったことでRGBそれぞれの飽和電荷容量のバランスに影響が出たのではないかとか、いろいろなことを考えてみたのですが、なかなかうまい結論が出なかったのです。で、hi-lowさんに質問を投げかけさせていただいた、と。

なんなんでしょうねぇ、、、 とても気になります。(^^;

Re: Re: Re: 続?色分解度

RGBでの分解能の違いについて、NikonのDSLRで比較してみました。
リンクをご覧ください。

ライカ判センサーのDSLRでは、ピクセルピッチの違いやLPFの有無に関わらず、RGB間で明らかな分解能の差は見られませんでした。DSLRセンサーのピクセルピッチは、既に大方のレンズの収束限界よりも小さくなっているのでしょう。しかし、D800/Eとほぼ同じピクセルピッチのD5100では、Rが他の色とは異なっていました。
APS-C判センサーのカラーフィルターでは、RとGの分光範囲の重なりが大きいのかもしれません。

> imagerマニア さん
"amaze"ですが、申し訳ありませんがアルゴリズムの内容までは確認していません。Raw Therapee V4.0のデフォルトアルゴリズムで、追試をされる方のために記載しました。

Re: Re: Re: Re: 続?色分解度

色付きのパターンを色分解したところ、Bの分解能も悪いことが分かりました。
デモザイクのアルゴリズムを調べてみたところ、基本的にはGの輝度を基準にするため、Gに変化があるとRやBの分解能が補われますが、Gが平坦な場合にはRやBの解像度は悪くなります。

結局、原色カラーフィルターのベイヤー配列センサーの色解像度は、色に依存してしまうようです。そのため、被写体によっては部分ごとに解像感が異なるのでしょう。

Re:Re: Re: Re: Re: 続?色分解度

>hi-lowさん
imagerマニアです。
追加の検証とraw現像アルゴルの件ありがとうございます。

後半話が難しくてついていけませんが、もしIRカットフィルタ込みの赤出力が小さいことによって今回の現象に説明がつくのであれば(←そこのところが私は理解できていません(^^;))、hi-lowさんおっしゃるそのとおりなのだと思います。

http://www.bitran.co.jp/ccd/images/product/characteristic/ICX415AQ.gif
↑以前hi-lowさんにご紹介頂いた、一般的な撮像素子のものと思われる分光特性

http://www.toa-rika.co.jp/product/pdf/pro_2_4_3.pdf
↑撮像素子に使われることもあると会社自体はアピールしている会社のIRカットフィルタの透過特性

上記二つを見比べると、いずれのタイプのIRカットフィルタでも400nmちょい過ぎからはほぼ100%透過させているようです。つまり、カラーフィルタの青のメイン部分の光はほぼ丸々そのまま透過してセンサフォトダイオードに到達可能。
 しかし、波長が大きい側はどのタイプのIRカットフィルタでも700nm以上はほぼ透過率0%で、大よそ650nmでも透過率は5割を切るくらいの様です。
赤のカラーフィルタの分光ピークが610nm程度に見えますので、ピークから少し波長が大きい赤色はフォトダイオードには5割以下しか到達しないことに。

 話が長くなってしまいましたが、何が言いたかったのかといいますと、つまり赤カラーフィルタとIRカットフィルタ双方を透過してくる可視光の波長範囲が他の色に比べて極端に狭い領域になっているようで、白色光を撮影したら最も出力値が小さいのは赤フィルタ画素という理解で概ね間違い無いのじゃないかと思います。


>デモザイクのアルゴリズムを調べてみたところ、基本的にはGの輝度を基準にするため、Gに変化があるとRやBの分解能が補われますが、Gが平坦な場合にはRやBの解像度は悪くなります。
 上記の”Gに変化がある”、”Gが平坦”というのはどういうニュアンスなのでしょうか?
画像を平面で見た場合に、平面内でGがベタッと平坦に分布しているとRBの解像度も悪くなり、Gが平面内で変化していると解像度が良くなるという意味なのでしょうか?

 また、HPの方に書かれているD7100のセンサのRB分光が近いというのは、絵をどう見ればそうだとわかるのでしょうか?

ps 本筋からは逸れますが、HPに掲載頂いた画像は等倍切り出しということでしょうか。とにかく1インチセンサは群を抜いてノイジーだということも良くわかりました(^^;)

  • imagerマニア
  • 2013/11/09(Sat.)

Re: Re:Re:imagerマニアさんへ

imagerマニアさん

> まあ私などはお手軽望遠ズームレンズは持っていても、本格的な重たい望遠レンズは持っていませんので

昔は仕事でしたので機材は会社持ちでしたが、仕事を変えてからは自分のポケットマネーで機材を購入しているのでそんなに多くを持っているわけではありません(それでも普通の人よりははるかに多いですけど ^^;)。いまの本業はコンピューターとネットワークという写真とはまったく縁のない世界ですから、頼まれ仕事が来ても十分に対応可能な機材を悩みながら選んでいるという感じでしょうか。ですので、懐に厳しいフルサイズは買わず、コストパフォーマンスの良いAPS-Cの機材を積極的に選んでいます。(^^;

昔の私の仕事は商業写真の分野で、創作性よりも(クライアントが望む)確実性が求められる世界でした。そのときの習性があるせいか、結果が読めないような機材は敬遠する傾向があります。その意味では、意外性とか味というものを求めるというよりも、自分の頭の中にあるイメージを優先するタイプと言えるかもしれません。/(^^;

> 正に錯覚恐るべしだと思います

そうなんですよー。(笑)
まぁ、美意識とかいうのは時代時代で変化するので、いいとか悪いとかではなく、流行廃りのようなもんだと思ってます。

> toshiさんの価値観とはこれまた相容れないスペックおたくな評価基準

いえいえ。そういう基準も大事だと思います。(^^)
実は、私も嫌いではありません。性能評価するときの基本ですよね。唯一、間違えてはいけないことは、「高スペック=高性能とは限らない」という点だと思います。

Re: Re: Re: Re: Re: 続?色分解度

hi-lowさん

いろいろな実験をありがとうございます。本当に参考になります。

Nikonのデータが中心になっていますが、フルサイズとAPS-Cでずいぶんと違うものなのですね。で、ひとつ思ったのですが、こういうのって、元々のセンサー自体の感度というか、カラーフィルターを使う前のセンサーの特性とかは影響しないのでしょうか? 知人に天体写真を撮る人が何人かおり、そういう人たちとの会話からふと思ってみました。

# Q.E(量子効率)とかFovpp値とかいう言葉がバンバン出てきてついていくのが大変でした。(^^;

色色色…

>imagerマニアさん

なぜ4:2:2ばかりなのか、というのは正直なところ“よくわからない”ですけど、PCで試す限りでは極端に大きくなる感じはしないので、ファイルサイズの問題ではなさそうに思います。
どちらかというと演算パワーであるとか、処理時間だとか、そういう問題なのかもしれません(明確な根拠はありませんが)

> 画像を見て、どうやったら「この画像は4:2:2だ」とかわかったりするのでしょうか?

わたしはJpegAnalyzerというソフトで見ています。これでJPEGファイルを開くと最初はExif情報が表示されると思いますが、解析ボタンを押すとJPEGそのものの情報が表示されます。

>hi-lowさん

拝見しましてこちらでも同じことをやってみました。確かにRawTherapeeでTIFF書き出しした画像を観察するとなぜか白黒の境界線でもRの解像感がやや悪いという現象が確認できるんですが、同じNEFファイルをAdobe Camera Rawで開いてみるとRGB間で特に差は認められないので、RawTherapee特有の現象のような気もします。(フルカラーPNGで出力した画像へリンクしておきます)
ではなぜ35mm判とAPS-C以下で差が付いたのか、はよく分かりませんが……

最後にちょっと言い訳っぽいですけど、Bayer配列では基本的に輝度情報はGから生成するというのは重々承知してまして、原理的にR/Bの解像度は劣る場合があるということ自体を否定するつもりはありませんでした。

Re: 色色色…

FTさん

> なぜ4:2:2ばかりなのか

JPEGファイルをさまざまな機器で利用可能にするための落としどころとして一番いいからではないかと思います。高性能なPCからシステムリソースの少ない(非力な)携帯端末までカバーすることを考えたら、私もこれを選びます。

あと、商用のRAW現像ソフトって、多かれ少なかれ何らかの補正をかけてませんでしたっけ? 複数のRAW現像ソフトを使うと、単に(同じ)ファイルを開いただけなのに(同じPC、同じモニタを使っていてさえ)見え方が違うというのがあるので、そういうものだと思い込んでるのかもしれませんが、、、 その意味では、“素”のままの状態を見せてくれるものがあるとありがたいんですけど、どうなんでしょう、、、(^^;

# その意味では、フリーのもののほうが素に近かったりするのかなと考えてみたり、、、

作品をRAWで撮って現像するというのは仕事か趣味で行うものであって、写真を撮る人のほとんどはJPEG撮って出しを使うものだと思っています。つまり、今回の件で言えば中級機以下でこそきちんとしたJPEG出力をすることが大事なはずですよね。それが最近ではおざなりにされているようで、とても気になっています。

Re: 色色色…

FTさん

追試をしていただきありがとうございます。ACRでの結果はぜひ知りたいと考えていましたので、大変助かりました。みごとにRの処理がちがいますね。

デモザイクアルゴリズムについては、FTさんが理解しておられるからこそ、jpegの圧縮を指摘されたのだと思っていました。私はそこまで思い至らなかったので…。

Raw Therapeeで幾つかカメラのRawデータを現像してみたのですが、パナソニックのGM1とGX7はRの値が明らかにシフトしました。多分、メーカーや機種ごとにデータの固有オフセット値や係数が在り、ACRなどの商用ソフトウェアはそれを利用できるのでしょう。ソフトウェアごとの現像結果の違いは、その処理法の違いなのかもしれません。

Rの結果を見るまではRaw Therapeeで頑張ろうと思っていましたが、Light Roomを購入することにしました…。

Re: Re:Re: Re: Re: Re: 続?色分解度

imagerマニア さん

デモザイクアルゴリズムでは色相が一定と仮定するので、単純化するとR/BはGとは逆の変化をすることになります。つまり、GはR/Bの変化を補ってくれるのですが、Gが平坦な場合はそれがなくなり、R/Bの分解能は低下することになります。

D7100のカラーフィルター特性は、右下の緑と赤のパターンを見るとわかります。
Rで明るい部分がGでは暗くなっているので、Gフィルターはこの赤の波長を通しません。ところが、他機種ではGでも明るいので、少なくともこの波長まではRとGが重なっています。RとBには、機種間の違いが無いようなので、D7100のGフィルターは透過波長範囲が他機種よりも狭く、他のフィルターは同程度の範囲と思われます。RとBが近いことはないでしょうね。

Rの出力に関してはおっしゃる通りで、R素子に到達する光が他素子よりも少ないために出力の実行ビット数が小さい可能性があると思います。Raw Therapeeはこのままでデモザイクを行うために、Rだけ分解能が低いのかもしれません。

尚、掲載した結果は全てピクセル等倍です。
APS-Cよりも小さなセンサーのカメラを使う気が無くなりました…。

ブログ内検索

カウンター

最新コメント

[03/28 hoge]
[03/26 hi-low]
[03/22 山川]
[03/18 hoge]
[03/08 hi-low]
[03/04 hoge]
[02/26 山川]
[02/26 山川]
[02/19 hoge]
[02/18 山川]
[02/05 hoge]
[02/05 hi-low]
[01/29 通りすがりです]
[01/28 FT]
[01/23 hi-low]

カレンダー

04 2026/05 06
S M T W T F S
1 2
3 4 5 6 7 8 9
10 11 12 13 14 15 16
17 18 19 20 21 22 23
24 25 26 27 28 29 30
31

バーコード

プロフィール

HN:
imagerマニア
性別:
非公開