忍者ブログ

Imager マニア

デジカメ / デジタルビデオカメラ / スマホ用の撮像素子(イメージセンサ/imager/CMOSセンサ)について、マニアな情報や私見を徒然なるままに述べるBlogです(^^;)

[PR]

×

[PR]上記の広告は3ヶ月以上新規記事投稿のないブログに表示されています。新しい記事を書く事で広告が消えます。

実用化済み 無機3層センサはどうなってる? ~シグマのFOVEONの断面と平面レイアウト

 二つ前のエントリで、NHKの研究段階の有機3層センサお話。
「ん?良く考えたら現役で製品化されている無機3層センサのことをあまり知らないぞ」
と気づいたのが今回のエントリの発端です。

 そう、我々は既に1画素でちゃんと(?)3原色を得られる夢のセンサ搭載カメラを、お金を出しさえすれば今現在でも手に入れることが出来るのです!

↓ 下の写真はシグマSD1 Merrillの公式ページより。FOVEONセンサ
highresolution_04.jpg
←本エントリとは直接関係ありませんが、センサ表面凄い斑模様ですね。
センサ表面がもしハメ込み画像で無いとすると、これはセンサ面内の膜厚ムラが大きいと思われます。各膜界面で反射した光の干渉度合いの違いが現れてしまっているのではないでしょうか。

 センサ上端と下端では、上端の方が周辺回路領域が広く取られ、またパッケージのpin数も上端の方が下端よりも密になっており、数が多く見えます。
これは、何がしか重要な役割を果たす回路が上端側に配置されており、その回路ブロックに供給すべき電源/GNDやパルスが多く必要なためだと思われます。(←単純に出力pinが上端に固まっているだけという可能性も十分ありますが)

後どうでも良いことですが左上の斜めにボンディングされている2pin-2パッドは斜めである何か深い意味があるのでしょうか?普通に上と左にpinを用意しても普通にボンディング出来そうな気がしますが(^^;)



ffc7266f.jpeg

 

拍手[3回]

↑ chipworksのテクノロジーblogにupされている、FOVEON X3の15Mpixセンサ搭載SD1の画素断面濃度分布及び平面図
※リンク先記事中ほど
※上写真の黄色、青、赤、緑の薄めのライン及び矢印は私が追記

1画素に6トランジスタ
SD1搭載センサの画素ピッチは確か、4.8~4.9um□程度。
NikonD800搭載ソニー製36MpixフルサイズCMOSセンサの画素ピッチが4.75um□(←リンク先最初の写真)でほぼ同等。
このソニー製センサはちなみに”2画素で”5トランジスタ
つまり、D800のソニー製センサが1画素換算で2.5トランジスタという計算で、FOVEON X3センサがどれだけ無理してトランジスタを詰め込んでいるか(≒詰め込まざるを得ないか)が良くわかります。

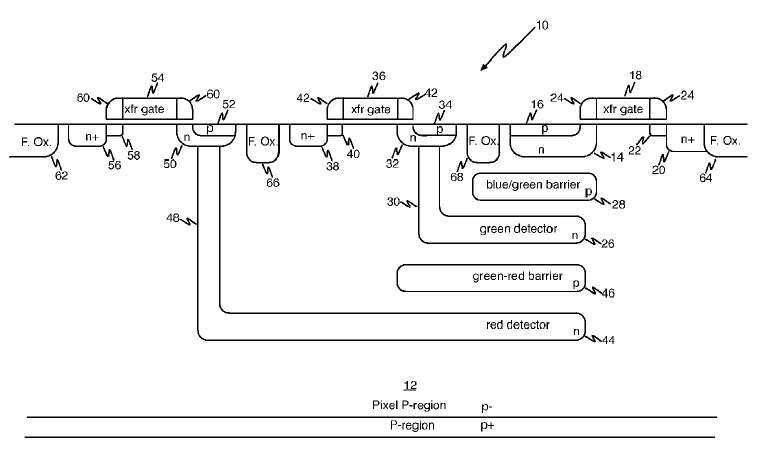
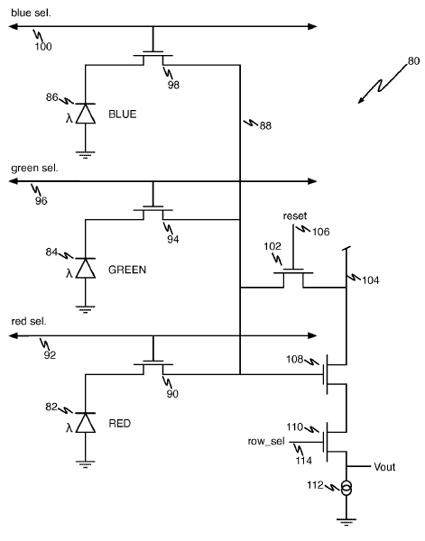
 上図の平面図と辻褄が合う画素等価回路図が載ったFOVEON社の特許を探してみました。
f1e73205.png
US8115242 第2図より
チップワークスの平面図のトランジスタ番号とこの等価回路図のトランジスタ番号の対応を取ると、恐らく以下。

T1=98
T2=90
T3=94
 以上、三つが各色のフォトダイオードからFDへの転送トランジスタ群。
T4=102 リセットトランジスタ
T5=108 ソースフォロワトランジスタ
T6=110 行選択トランジスタ
CO (恐らくColumn Outの略)=Vout (恐らくVertical Outの略)
FD (フローティング ディフュージョン)=88

 で、これを元に、チップワークスの平面図で電気的につながっていないノード同士をつなげたのが黄色。
黄色の斜めの配線でつなげることにより、リセット、ソースフォロワ、行選択トランジスタが各色で共有することが可能に。
青は最上層にあるため、どうやら通常のベイヤセンサと同様普通にFDにT1転送トランジスタで読み出し。問題は緑と赤で、それぞれ平面図の緑と赤の矢印の根元の方の拡散層に、深いところから集めた電荷を吸い出して、それぞれのT3、T2の転送トランジスタでFDへ読み出しているよう。

d76bf079.png
←同じ特許の第一図面
FOVEON X3センサの断面模式図。
チップワークスの写真左の断面は、青色がp型、黄色がn型の箇所という注釈あり。
この特許の断面模式図と比較すると、green及びred detector とかかれている箇所は双方ともn型で一致。特許図面にblue detectorが明示されていませんが、それが14であることは間違い無し。ここもn型で一致。
blue/green barrier も双方p型で一致。
ここで”barrier”とは何かと言うとDetector=検出器がn型で作られている場合、反対のp型であれば二つのdetectorを分けるバリアとして働くことになります
唯一、正確に言うと異なりそうなのが”green/red barrier”。特許図面はp型となってますが、チップワークスの実際のセンサの出来の方は、n型とp型の丁度中間くらいになっていそうで、greenとredはあまりしっかりバリアで分けずに”ぼやっと”分けているようです。←これが意図してなのか、技術的に困難だったのかは不明ですが。

 少し話しが逸れますが、前回エントリにてキヤノンのデュアルピクセルCMOS AFで、「二つのフォトダイオードの間に物理的な壁や溝は無い(けど、二つのフォトダイオードは独立して電荷を読み出すことも可能)」という趣旨のことに驚いて、特許をやはり調べて納得していましたが、良く考えたら”物理的な壁や溝が無くても複数のフォトダイオードで独立に電荷を貯めて読み出している”先輩がこんなところに随分前からいらっしゃいましたね。
 FOVEONのX3センサとCANONのDualPixelCMOS AFセンサは、フォトダイオードの分け方が縦か横かの違いだけで、本質的には(フォトダイオードの隔て方としては)何も変わらないということに、ここまで書いて気づきました(^^;)。

 しかしこの断面模式図を見て、本当にこの様に出来ているとしたら、表面側の青は良いのですが、緑と赤はdetectorから読み残しなく電荷を全て読み出すのは至難の技なのではないかと思います。

87672626.png
←特許の第三図面
画素からの電荷読み出しの為の駆動パタン。
ここには意外性は何も無いですね。
画素のトランジスタ数を減らすため、リセット、ソースフォロワ、行選択の各トランジスタ、CO(=Vout≒垂直信号線)を各色で共有してしまったため、必然各色を同時に読み出せません。
 そのため、読み出したい行の行選択トランジスタをONしたまま、FDをリセットし、青を読み出し、またFDリセットして緑を読み出し、FDリセットして、赤を読み出し・・・という流れの様です。
 ちなみに青から読み出すのは何か深い意味があるのでしょうか?それとも別に赤から読み出しても大差無いのでしょうか?ちょっと気になります。

上記の様に、画素数的には1500万画素程度のはずが、読み出さなければならない画素信号データはその3倍になるFOVEON X3センサ
例えばSD1(ノーマルもMerrillも)、カメラの駒速は5fps。
例えばキヤノンのEOS kiss X7iの駒速は(キヤノンのエントリー機ではあるけれども)5fps。
(※X7iの画素数は約1800万画素)
両者は同等の駒速。恐らく双方ともセンサで駒速が律速しているとするならば、ここでもFOVEON X3センサの難しいところがカメラの駒速として現れてしまっていると言えるかもしれません(≒つまりFOVEON X3センサは、画素数をレイアウト面積的にも駒速的にも増やすことが難しい)。

(誤解を招きそうなので補足しますと、私、FOVEONセンサをナンセンスなのだと言いたい訳ではありません。むしろ支持者(応援者?)で、なるべく安く、そして性能upして普及してもらいたいと願っているたちです。ただ、凄く難しいことをやっているなと・・・・・・)

cb25bb81.png
最後に余談ですが、このUS特許の表紙。
今回気づいたこと

FOVEON社としては、このいわゆる”FOVEONタイプの無機三層の1画素でRGB3原色を吸収するセンサ”のことを、”Vertical color filter sensor”と呼んでいる
 ↑特許を調べていると、この呼び名でほぼ統一されているように見えました。
”へぇ~、この概念が無い時代に、最初に特許書こうと思ったら、一番端的に特徴を言い表そうと思ったら、そういう言い方になるのかなー”と。今からだと何か洒落た言い方だなと感じるのは私だけでしょうか(^^;)

VerticalColorFilterSensorのほとんどの特許の筆頭執筆者が、この”merrill”という人
 そう、"SD1 Merrill"などの最近のFOVEON搭載カメラの名称になっている名前です。恐らくこの方の功績をリスペクトしてのネーミングなのだろうと気づきました。

③この特許のタイトルがpinned photodiode cmos pixel sensorで、申請は2007年2月7日であること。
2007年当時でも、一眼レフカメラに搭載されている撮像素子でpinned photodiode(=埋め込みフォトダイオード≒本特許では第一図面の16,34,52のシリコン表面にp型層があるフォトダイオードのこと)でなかったセンサは無いのではないでしょうか。
携帯電話搭載の撮像素子ですら、恐らく全てが埋め込みだったのではないかという気がします。
 今回、図面が適切だったのでこの特許を引用しましたが、実はこの特許自体は大した特許では無い様に私には思われます。
つまり、”FOVEONタイプのセンサであって埋め込みフォトダイオードであることを特徴とするセンサ”的なクレーム(請求項)になっており、FOVEONタイプでなければ特許にはなっていなかった特許の様に思われ、新規性が感じられません。


PR

コメント

お名前
タイトル
文字色
メールアドレス
URL
コメント
パスワード Vodafone絵文字 i-mode絵文字 Ezweb絵文字

無題

ChipworksにFoveon X3 15Mの解析があったのですね。回路を増やすと開口率が小さくなるために、COが共通なのでしょう。
RGBが完全に分離されると中間色の推定が困難になりますので、カラーフィルター方式でも、各フィルターの透過光スペクトルには重なりがあります。"Vertival color filter"でも、あえてGとRの分離を悪くしている可能性はあると思います。

Re:無題

>hi-lowさん
imagerマニアです。
こちらのコメント欄であちらの分も。
顕微鏡で観察するのに撮像素子の知識もそんなに必要なのですね。大変失礼ながら素直に言って驚きました。どちらにしましても回答必要ないことにお答え頂きありがとうございます。

上記分光の件ですが、以下ページがおもしろいです。
http://egami.blog.so-net.ne.jp/2010-06-22
一番上のグラフが通常原色カラーフィルタの分光です。確かに教科書などで良く見る形です。
一番下のグラフがFOVEON。その一つ上が色再現が忠実と表されたフィルムの分光だそうです。フィルムの分光は素人目にもきれいです。中間光に感度を残しつつ、RGBがきっちり綺麗に同じ形で分離されています。このフィルムが理想とするならば、通常フィルタとFOVEONとどちらが理想に近いのか?
 やはりFOVEONの分光はカラー画像を再現するのに厳しそうに思います。最初のFOVEON搭載のシグマSD9の発売が2002年。2003年のFOVEONの特許の分光感度特性も上記ページのものと似たようなものでした。
エンジンで計算して再現するのがあまりに複雑で処理が重くなりすぎ、SD9はraw専用機になってしまったのでは?と思ってしまいます。

 ただ、緑と赤のディテクターの間のバリアを高くしたら分離特性がよくなるのか?というと、そうとも限らないと思うので、仰るとおり意図してバリアを低くしている可能性は十分あると私も思います。

  • imagerマニア
  • 2013/07/23(Tue.)

Re: Re: 無題

> imagerマニア さん
私は撮影装置がフィルムからイメージセンサーへ移行する時期を経験した世代で、同じ試料の写りが異なった際に、その理由を考える必要がありました。そのため、否応なしにイメージセンサーの知識が必要になり、気が付くと"マニア"になっていました…。

フィルムやセンサー用カラーフィルターと比較して面白いのは、網膜の錐体細胞の分光特性と分布です。ヒトの色覚は相当にいいかげんなことが分かります。

分光特性については以下のURLを、
http://www.ryobi-sol.co.jp/visolve/jp/colorvision.html
分布については以下のURLをご覧ください。
http://web2.chubu-gu.ac.jp/web_labo/mikami/brain/25-8/index-25-8.html

このいい加減さが、デジタルカメラによる色の再現が難しい原因なのでしょうね。

Re:Re: Re: 無題

>hi-lowさん
imagerマニアです。
引用のページ拝見させていただきました。
私は「人間の目はグリーンの視感度が最も高い。だからベイヤ配列ではグリーンを他の原色の2倍配置している」という風に思い込んでいたのですが、引用ページを見ると、赤色の情報を得る組織が最も多いということで意外でした。
 こんなこと(?)を気にしだすと「そもそも何故人間はX線や赤外は見えないのに可視光は見えるのか?」とかの哲学(?)に突入しそうですので、ここは”そういうもの!”と割り切っていきたいと決意した次第です(^^;)

  • imagerマニア
  • 2013/07/30(Tue.)

無題

失礼します。

3層フォトダイオードを垂直に組んでいる時点で、下2層の開口はかなり制限されるのではないでしょうか。
もしXY方向にずらして組んでいるのならば、水平型のデメリットを被りますよね。
どうゆうことだ~?

Re:無題

>mu-nowさん
imagerマニアです。はじめまして。

>3層フォトダイオードを垂直に組んでいる時点で、下2層の開口はかなり制限されるのではないでしょうか。

 おっしゃる通りだと思います。
”開口”という表現が適切かわかりませんが、上に1層ある時点で、そこで光の少なくない部分が吸収されてしまい、最下層に届く分量はかなり小さくなってしまっていると思います。

Foveonセンサが高感度に弱い原因の内の一つだと予想しています。

  • imagerマニア
  • 2014/02/15(Sat.)

ブログ内検索

カウンター

最新コメント

[03/28 hoge]
[03/26 hi-low]
[03/22 山川]
[03/18 hoge]
[03/08 hi-low]
[03/04 hoge]
[02/26 山川]
[02/26 山川]
[02/19 hoge]
[02/18 山川]
[02/05 hoge]
[02/05 hi-low]
[01/29 通りすがりです]
[01/28 FT]
[01/23 hi-low]

カレンダー

12 2026/01 02
S M T W T F S
1 2 3
4 5 6 7 8 9 10
11 12 13 14 15 16 17
18 19 20 21 22 23 24
25 26 27 28 29 30 31

バーコード

プロフィール

HN:
imagerマニア
性別:
非公開